EasyManua.ls Logo

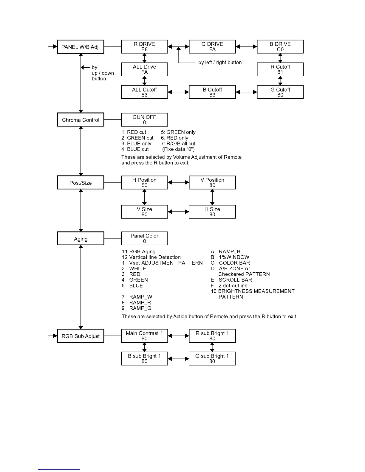
Panasonic TH-42PH11UK - IIC Mode Structure (Following Items Value Is Sample Data)

Panasonic TH-42PH11UK
163 pages
To Next Page IconTo Next Page
To Next Page IconTo Next Page
To Previous Page IconTo Previous Page
To Previous Page IconTo Previous Page
Loading...
14
TH-42PH11UK
6.2. IIC mode structure (following items value is sample data)

Table of Contents

Related product manuals