EasyManua.ls Logo

Panasonic TX-PF42S30 - Power LED Blinking Timing Chart; No Power

Panasonic TX-PF42S30
112 pages
Print Icon
To Next Page IconTo Next Page
To Next Page IconTo Next Page
To Previous Page IconTo Previous Page
To Previous Page IconTo Previous Page
Loading...
18
7.2. Power LED Blinking timing chart
1. Subject
Information of LED Flashing timing chart.
2. Contents
When an abnormality has occurred the unit, the protection circuit operates and reset to the stand by mode. At this time, the
defective block can be identified by the number of blinks of the Power LED on the front panel of the unit.
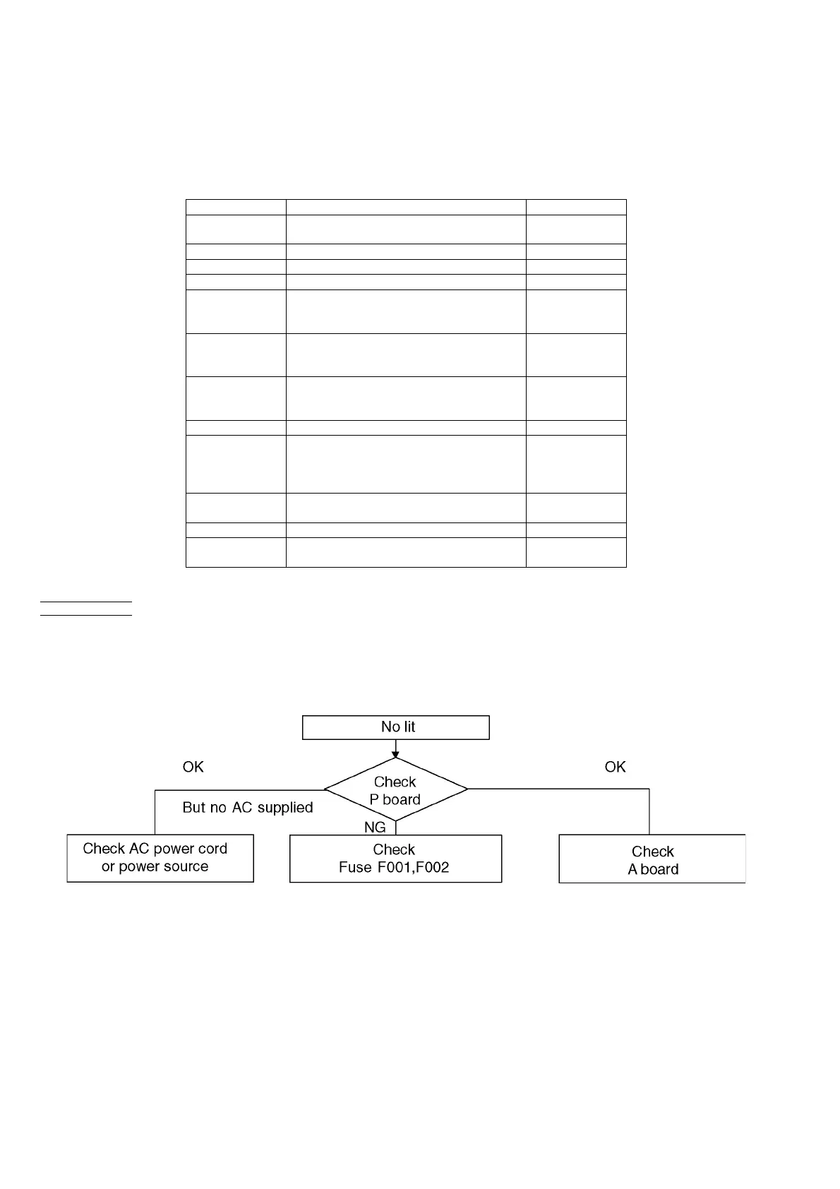
7.3. No Power
First check point
There are following 3 states of No Power indication by power LED.
1. No lit.
2. Green is lit then turns red blinking a few seconds later. (See 7.2.)
3. Only red is lit.
Blinking Times Contents Check point
1 Panel information SOS
PD5 Start SOS
-
3 P+ 3.3V SOS A-Board
4 Power SOS P-Board
5 P+ 5V SOS A-Board
6Driver SOS1
(SN Energy recovery circuit)
(A-SN FPC DET)
SN-Board
A-SN FPC
7Driver SOS2
(SN Connector DET)
(SN Scan and Logic IC)
SN-Board
8Driver SOS3
(SS FPC DET)
(SS Energy recovery circuit)
SS-Board
SS FPC
9 Discharge Control SOS A-Board
10 Sub 5V SOS
Sub 3.3V SOS
BE (sLD) SOS
Tuner power SOS
A-Board
SN-Board
SS-Board
P-Board
12 Sound SOS A-Board
Speaker
13 Emergency SOS A-Board
14 IROM SOS (ROM in Peaks IC) A-Board
P-Board