EasyManua.ls Logo

Park Tool PRS-33.2 - Instrucciones de Uso

Park Tool PRS-33.2
17 pages
Print Icon
To Next Page IconTo Next Page
To Next Page IconTo Next Page
To Previous Page IconTo Previous Page
To Previous Page IconTo Previous Page
Loading...
à nouveau le vélo pour le relâcher au sol. Le réglage en hauteur de la pince se
fait à l’aide des deux interrupteurs situés sur le coté du bloc moteur. L’interrup-
teur principal est sur le dessus. Linterrupteur directionnel est sur le dessous.
1. Pour lever la pince, appuyer sur la partie haute de linterrupteur direc-
tionnel. Pour la faire descendre, appuyer sur la partie basse de l’interrup-
teur directionnel.
2. Appuyer sur le «I» de linterrupteur principal an d’activer le moteur et
faire monter ou descendre la pince. Relâcher le bouton lorsque la hauteur
souhaitée est atteinte. Note : Ne pas essayer d’emmener le bloc moteur
plus loin que sa course normale (plus loin que la butée), ceci endommage-
rait le bloc moteur.
3. Mettre linterrupteur directionnel sur «0» (neutre) afin de prévenir d’un
changement accidentel de la hauteur de la pince.
4. Fermer le serrage rapide an de retirer le moindre jeu qui aurait subsis-
té entre le montant et le bloc moteur. Note : Avant de modier à nouveau
la hauteur, ouvrir le serrage rapide an d’éviter une tension trop impor-
tante sur le moteur.
BEDIENUNGSANLEITUNG
Höhenverstellung
Mit dem Elektromotor des PRS-33.2 lässt sich die Arbeitshöhe von 16 cm bis
198 cm (6“ – 78) stufenlos verstellen. Dadurch kann praktisch jedes Fahrrad
auf dem Boden stehend im Montageständer fixiert und komfortabel auf jede
gewünschte Arbeitshöhe bewegt werden. Die Steuerung erfolgt über zwei
seitliche Schalter an der Trägerschlitteneinheit: Der obere ist für die Motor-
steuerung, der untere für die Höhenverstellung.
1. Zum Anheben der Halteklaue drücken Sie den Schalter in Pfeilrichtung
aufrts. Zum Absenken der Halteklaue drücken Sie den Schalter in
Pfeilrichtung abwärts.
2. Drücken Sie „I“ beim Motorschalter, um den Motor für das Anheben/Ab-
senken der Halteklaue zu aktivieren. Lassen Sie den Motorschalter los,
sobald Sie die gewünschte Höhe erreicht haben. Hinweis: Lassen Sie
den Trägerschlitten nicht über den nutzbaren Bereich hinaus gleiten,
sonst werden Motor und/oder Schlitten beschädigt.
3. Stellen Sie den Richtungsschalter auf „0“ (neutral), um die versehentli-
che Änderung der Arbeitshöhe zu vermeiden.
4. Schließen Sie den Schnellverschluss, um jegliches Spiel zwischen Stand-
rohr und Trägerschlitten zu beseitigen. Hinweis: Öffnen Sie den Schnell-
verschluss vor jeder Höhenverstellung, damit Motor oder Trägerschlitten
nicht überlastet werden.
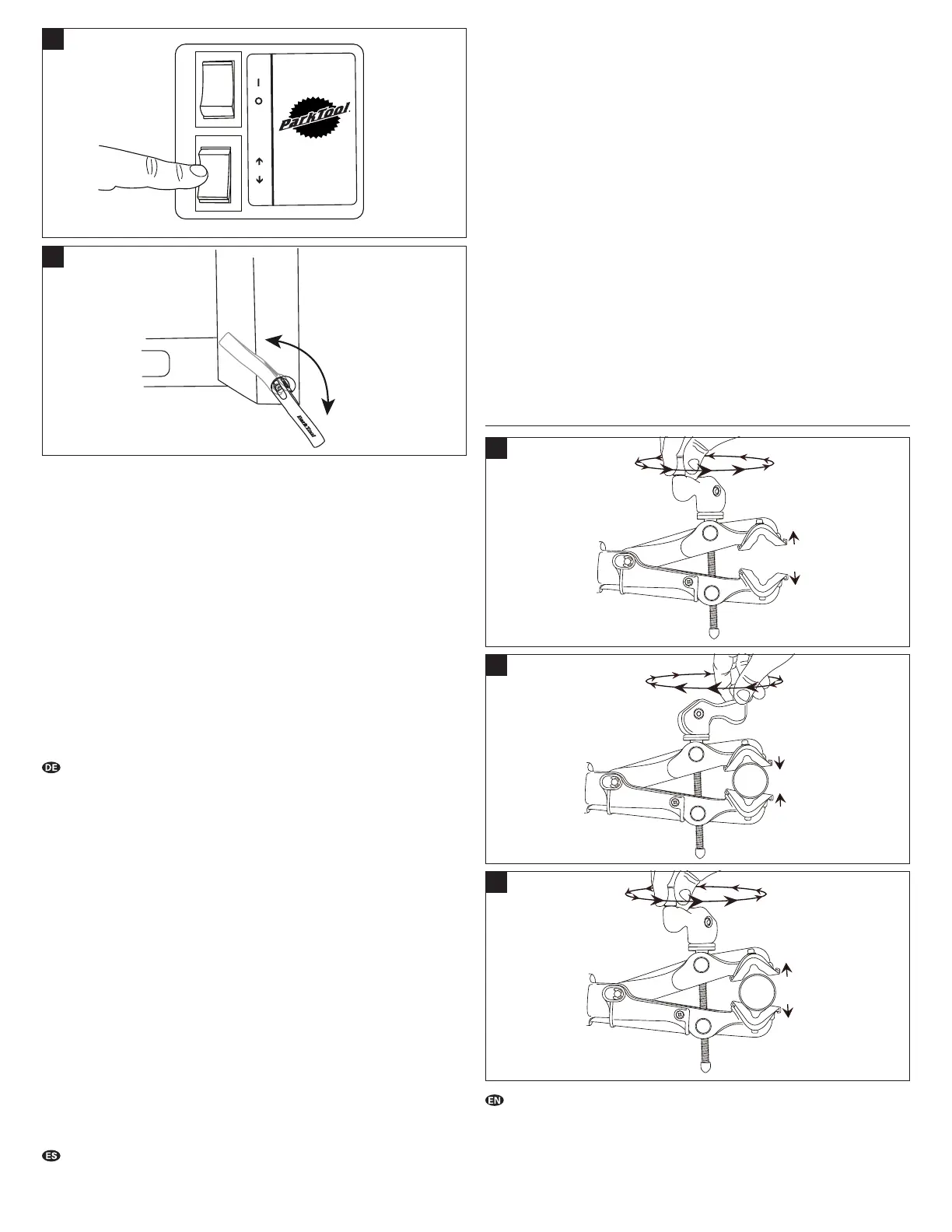
INSTRUCCIONES DE USO
Ajuste la altura de la mordaza
El motor eléctrico del PRS-33.2 permite ajustar la altura de la mordaza de los
6” a las 78” (16cm-198cm), por lo que es sencillo sujetar la bicicleta en el piso,
levantarla para trabajar cómodamente, ajustar la altura durante la repara-
ción si es necesario, y bajar la bicicleta para desengancharla de la mordaza.
Los ajustes en la altura de la mordaza se realizan utilizando los dos interrup-
tores situados al lado del sistema de deslizamiento. El interruptor de encen-
dido se encuentra en la parte superior. El interruptor de dirección se encuen-
tra en la parte inferior.
1. Para aumentar la altura de la mordaza, presione el interruptor de direc-
ción en la flecha que apunta hacia arriba. Para disminuir la altura de la
mordaza, presione el interruptor de dirección en la flecha que apunta ha-
cia abajo.
2. Presione “I” en el interruptor de encendido para activar el motor y au-
mente o disminuya la altura de la mordaza. Apague el interruptor cuan-
do alcance la altura deseada. Nota: No permita que el sistema de des-
lizamiento se desplace hacia arriba o hacia abajo más allá del rango
permitido, ya que puede dañar el motor y/o el sistema de deslizamiento.
3. Presione el interruptor de dirección en “0” (neutral) para prevenir cam-
bios accidentales en la altura de la mordaza.
4. Cierre el freno de bloqueo de rápida liberación para evitar cualquier jue-
go que pudiera existir entre la soporte vertical y el sistema de desliza-
miento. Nota: Antes de realizar cualquier ajuste adicional en la altura,
abra el bloqueo de rápida liberación para prevenir daños en el motor del
sistema de deslizamiento.
Clamping Bike
The 100-3D Micro-Adjust Clamp on the PRS-33.2 grips nearly any frame tube
or seat post from 7/8” to 3”. The 100-3D has a cam actuated adjustment sys-
tem for quick entry, adjustment and removal. Clamping pressure is fully ad-
justable to prevent damage to thin wall tubing. Before clamping, clean frame
tube to prevent damage to finish and consult manufacturer for suggested
clamping location.
5
6
7
4
PRS-3 3.2
PRS-3 3.2
PRS-3 3.2
3
PRS-3 3.2
PRS-3 3.2
PRS-3 3.2

Related product manuals