EasyManua.ls Logo

Park Tool PRS-33.2 - Page 8

Park Tool PRS-33.2
17 pages
Print Icon
To Next Page IconTo Next Page
To Next Page IconTo Next Page
To Previous Page IconTo Previous Page
To Previous Page IconTo Previous Page
Loading...
X. Place power supply (#31) into top of cross bar (#8). Drop coiled cord
through hole in cross bar (be careful the hole edges do not damage cord)
and attach end of cord to power terminal on carriage assembly (#3).
X. Placer le transformateur (#31) à l’intérieur de la barre horizontale (#8).
Laisser filer le câble d’alimentation à travers la barre horizontale (atten-
tion à ce que les bords n’abiment pas le câble) et relier le bout de du câble
dalimentation au bloc moteur (#3).
X. Platzieren Sie das Netzteil (#31) im Querträger (#8). Fädeln Sie das Te-
leskopkabel vorsichtig durch die Bohrung im Querträger und verbinden
Sie den Stecker mit der Buchse in der Trägerschlitteneinheit (#3).
X. Coloque la fuente de poder (#31) en la parte superior de la barra supe-
rior transversal (#8). Atraviese el cable enroscado en el orificio de la ba-
rra superior transversal (tenga cuidado que los bordes del oricio no da-
ñen el cable) y conecte el extremo del cable a la alimentación eléctrica
en el sistema de deslizamiento (#3).
Y. Install lock block assembly (#27) into horizontal tube (#7).
Y. Installer l’ensemble de serrage (#27) dans le tube horizontal (#7) du
bloc moteur.
Y. Setzen Sie den Verschlusshebel (#27) in die Klauenaufnahme (#7).
Y. Instale el bloqueo (#27) en el sujetador de mordaza (#7).
Z. Insert clamp (#6) into the horizontal tube (#7). Tighten handle on lock
block assembly (#27) to secure clamp.
Z. Insérer la pince (#6) dans le tube horizontal (#7). Tourner la poignée
de l’ensemble de serrage (#27) afin de bloquer la pince.
Z. Schieben Sie die Halteklaue (#6) in die Klauenaufnahme (#7) und si-
chern Sie diese durch Drehen des Verschlusshebels (#27).
Z. Inserte la mordaza (#6) en el sujetador de mordaza (#7). Apriete la pa-
lanca del bloqueo (#27) para asegurar la mordaza.
AA. Adjust chain tension using the chain tensioning assembly (#24, #25,
#26). Turning adjusting barrel (#24) one direction will tighten chain. Turn-
ing adjusting barrel the other direction will loosen tension. Chain should
be tensioned so it has just a very slight amount of slack. Do not over ten-
sion the chain.
AA. Ajuster la tension de la chaine à l’aide de l’ensemble de réglage de
tension (#24, #25, #26). Tourner le barillet (#24) dans un sens pour tendre
la chaine. Tourner le barillet dans l’autre sens pour relâcher la chaine. La
chaine doit avoir une tension permettant seulement un faible débatte-
ment. Ne pas surtendre la chaine.
AA. Mit dem Kettenspanner (#24, #25, #26) justieren Sie die Spannung
der Antriebskette. Durch Drehen des Justierzylinders (#24) lockern oder
spannen Sie die Kette. Die Kette sollte so gespannt sein, dass nur gerin-
ges Spiel vorhanden ist. Überspannen Sie aber die Kette nicht!
AA. Ajuste la cadena utilizando los tensores de cadena (#24, #25, #26).
Gire el barril de ajuste (#24) en una dirección para apretar la cadena. Gire
el barril de ajuste en dirección contraria para aflojar la cadena. La cade-
na debe tensarse para que tenga una ligera holgura. No tensione dema-
siado la cadena.
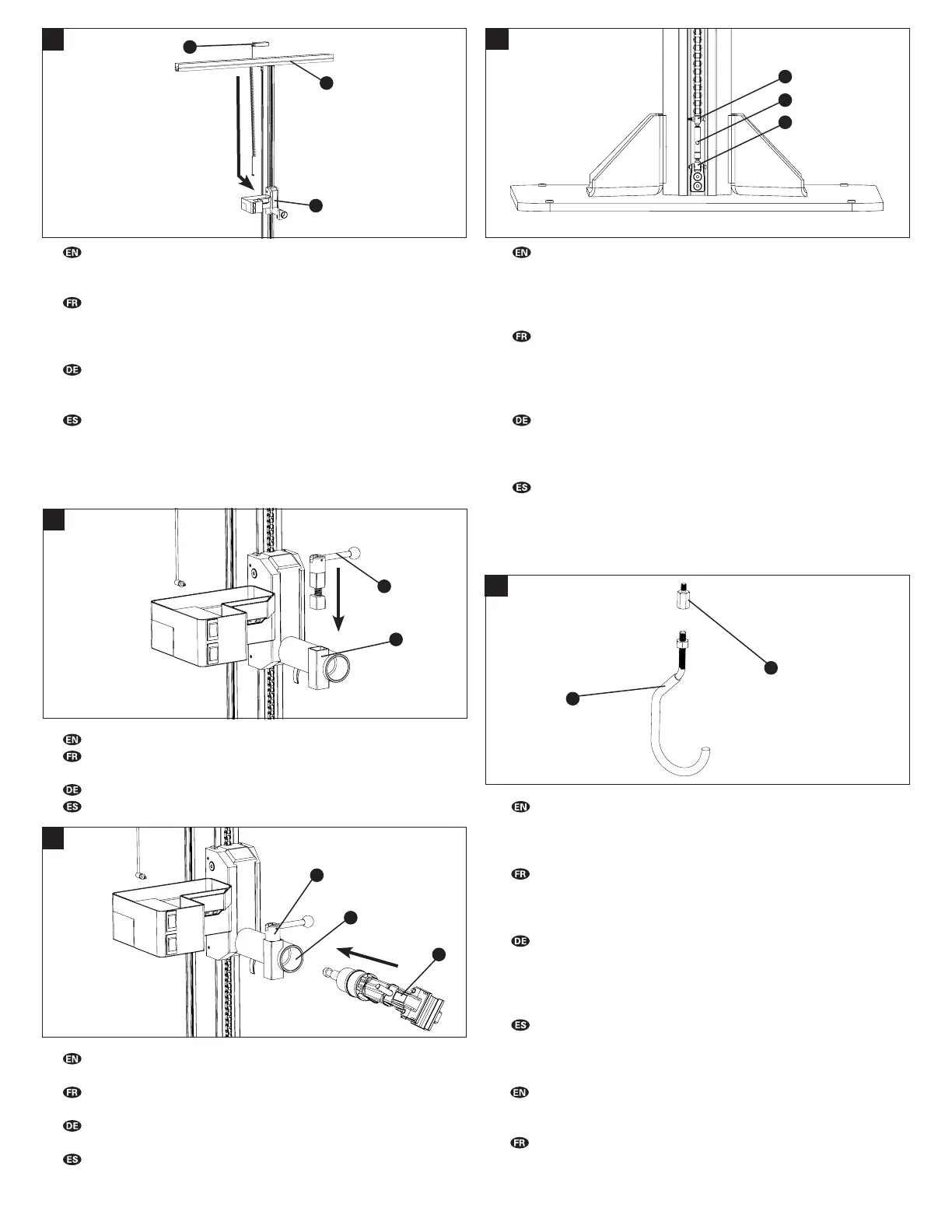
AB. Remove and set aside one M10 nut from #470 threaded hook (#40). In-
stall hook onto thread adapter until threads bottom out. Use 17mm combi-
nation wrench and large adjustable wrench to tighten M10 nut to thread
adapter.
AB. Retirer et mettre de côté un écrou M10 du crochet fileté #470 (#40).
Mettre en place le crochet dans l’adaptateur fileté jusquau bout du file-
tage. Utiliser une clé de 17mm et un clé à molette pour resserrer lécrou
M10 sur ladaptateur fileté.
AB. Eine M10-Mutter vom Gewindehaken #470 (#40) entfernen und bei-
seite legen. Haken auf Gewindeadapter montieren, bis das Gewinde nach
unten herausfällt. Verwenden Sie einen 17-mm-Ringschlüssel und einen
großen verstellbaren Schraubenschlüssel, um die M10-Mutter am Gewin-
deadapter anzuziehen.
AB. Remueve y guarda una tuerca M10 del gancho roscado (#40). Instala
el gancho en el adaptador para el roscado hasta que ya no de mas. Usa
una llave de 17mm y una perica grande para apretar la tuerca M10 al adap-
tador de roscado.
AC. Thread M8 T-nut (#38) onto thread adaptor (#39). Leave loose. Slide
hook in the desired location on the cross bar (#8) and tighten thread adap-
tor until tight.
AC. Visser lécrou en T M8 (#38) sur l’adaptateur fileté (#39). Laisser libre.
Glisser le crochet à lendroit désiré sur la barre horizontale (#8) et resser-
rer ladaptateur fileté jusquau bout.
AB
39
40
AA
25
24
26
Z
7
27
6
Y
7
27
X
31
8
3

Related product manuals