EasyManua.ls Logo

Payne PG9MXA - Condensate Trap Priming and Gas Line Purge; Prime Condensate Trap With Water; Purge Gas Lines and Sequence of Operation

Payne PG9MXA
62 pages
Print Icon
To Next Page IconTo Next Page
To Next Page IconTo Next Page
To Previous Page IconTo Previous Page
To Previous Page IconTo Previous Page
Loading...
48
A99118
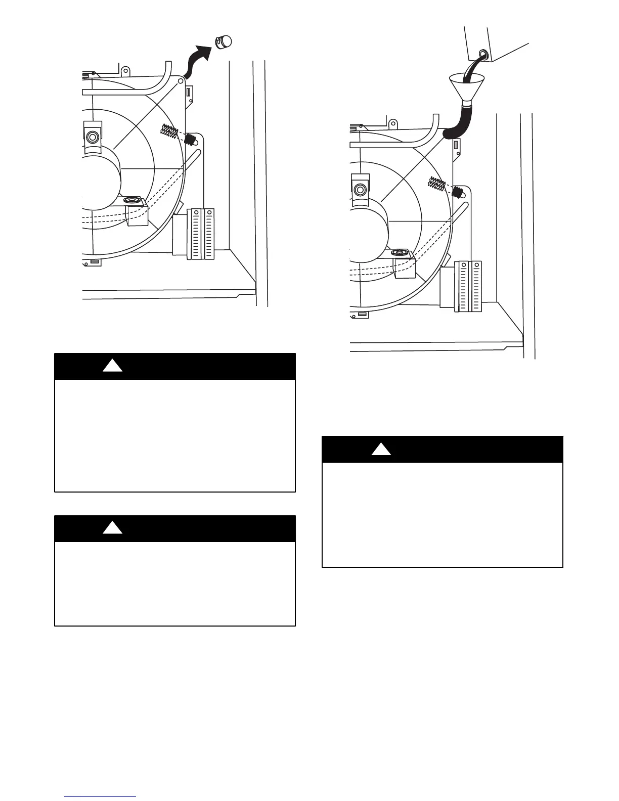
Fig. 48 -- Inducer Housing Drain Cap
FIRE HAZARD
Failure to follow this caution may result in intermittent unit
operation.
This furnace is equipped with a manual reset limit switch in
the burner box area. The switch will open and shut off power
to the gas valve if a flame rollout or overheating condition
occurs in the burner enclosure area. DO NOT bypass the
switch. Correct inadequate combustion-air supply, component
failure, or restricted flue gas passageway before resetting
the switch.
CAUTION
!
Step 2 -- Prime Condensate Trap With Water
FURNACE MAY NOT OPERATE
Failure to follow this caution may result in intermittent unit
operation.
Condensate trap must be PRIMED or proper draining may not
occur. The condensate trap has internal chambers which can
ONLY be primed by pouring water into the inducer drain side
of condensate trap.
CAUTION
!
1. Remove upper inducer housing drain connection cap. (See
Fig. 48.)
2. Connect field-supplied 1/2-in. (13 mm) ID tube to upper
inducer housing drain connection.
3. Insert field-supplied funnel into tube.
4. Pour 1 quart of water into funnel/tube. Water should run
through inducer housing, overfill condensate trap, and
flow into open field drain. (See Fig. 49.)
5. Remove funnel and tube from inducer housing and replace
drain connection cap and clamp.
A99119
Fig. 49 -- Filling Condensate Trap
Step 3 -- Purge Gas Lines
After all connections have been made, purge the gas lines and
check for leaks.
FIRE AND EXPLOSION HAZARD
Failure to follow this warning could result in personal injury,
death or property damage.
Never purge a gas line into a combustion chamber. Never test
for gas leaks with an open flame. Use a commercially
available soap solution made specifically for the detection of
leaks to check all connections, as specified in “Gas Piping”
and “Start-up Adjustment, and Safety Check” sections of
these instructions.
!
WARNING
Step 4 -- Sequence of Operation
Using schematic diagram in Fig. 36, follow the sequence of
operation through the different modes. Read and follow diagram
very carefully.
NOTE: If power interruption occurs during “call for heat”
(W/W1 o r W/W1 and W2), the control will run the blower for the
selected blower off delay period after power is restored, if the
thermostat is still calling for gas heating. The amber LED will
flash code 12 during this period, after which the LED will be ON
continuous as long as no faults are detected. After this period, the
furnace will respond to the thermostat normally.
The blower door must be installed for power to be conducted
through blower door interlock switch ILK to furnace control
CPU, transformer TRAN, inducer motor IDM, blower motor
BLWM, hot surface igniter HSI, and gas valve GV.

Related product manuals