EasyManua.ls Logo

PB EC Series - Page 18

Default Icon
36 pages
Print Icon
To Next Page IconTo Next Page
To Next Page IconTo Next Page
To Previous Page IconTo Previous Page
To Previous Page IconTo Previous Page
Loading...
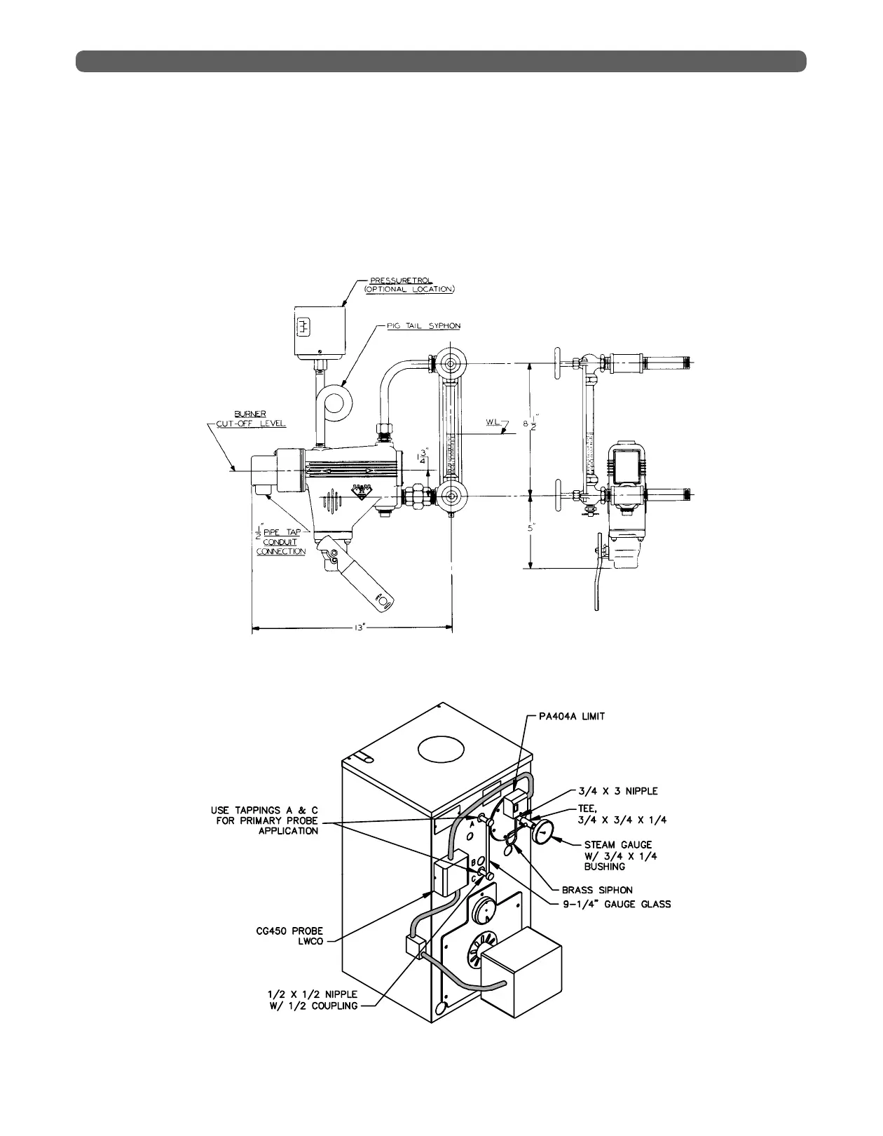
d. Steam boilers subject to UL726:
For installations subject to UL726, a second
operating control that senses steam pressure
is required (not provided). Use a PA404A or
equivalent. On probe boilers, install the additional
pressure control opposite the standard PA404A using
a cross instead of a tee along with a second brass
siphon (not provided). On float boilers, install the
additional pressure control in the location normally
used for the standard PA404A on steam-probe
boilers (fittings not provided).
3. For complete information on servicing and
adjustment of controls, refer to the attached control
specification sheets.
16
PIPING & CONTROLS
Figure 3.11: Assembling Float Low Water Cut-Off
Figure 3.12: Steam Boiler with Probe Low Water Cut-Off