EasyManua.ls Logo

Peak Performance PKC0BU4 - INSTALLATION; Camera Mounting and Angle Adjustment

Peak Performance PKC0BU4
8 pages
Print Icon
To Next Page IconTo Next Page
To Next Page IconTo Next Page
To Previous Page IconTo Previous Page
To Previous Page IconTo Previous Page
Loading...
INST
ALLATION
Some states or local gov
ernments may have regulations or laws that restrict the
use of anything that might impair the clear view of a license plate. Check local laws for
compliance.
For the Back-Up C
amera to be properly installed, it must be wired into the vehicle’s
taillight harness. If you are not comfortable or knowledgeable with 12-volt DC wiring, have the
system professionally installed.
These instructions ar
e only meant as a general guide due to the number of
di erent makes and models of vehicles. For vehicle-speci c questions, contact your vehicle’s
manufacturer.
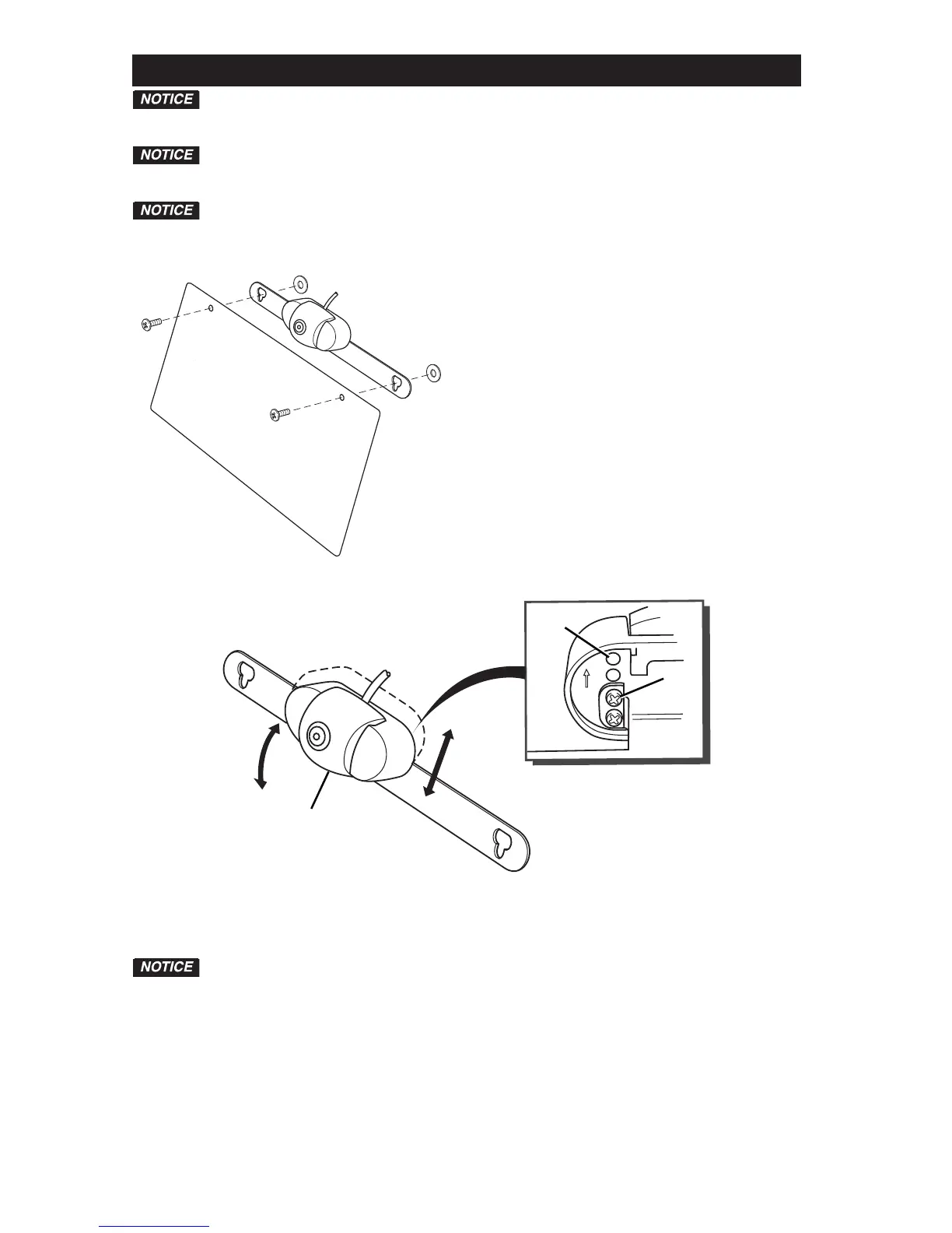
1.
Remove the screws that hold the license
plate to the vehicle.
2. Position the camera mounting plate behind
the license plate.
3. Insert the screws through the license plate,
the camera mounting plate and the
washers. If your hardware is not the correct
length, use the supplied hardware.
UP
1
2
3
Legend
1.
Camera
2.
Screw Holes
3. Camera Adjusting Screws
The camer
a angle should be adjusted to a horizontal position relative to the ground,
so as to provide an optimal view of objects behind the vehicle.
4. Adjust the camera as required:
To adjust the camera angle, tilt the camera to one of the five positions.
The camera should be adjusted to a horizontal position relative to the ground, so as to
provide optimal view of objects behind the vehicle.
To adjust the camera height, remove the camera adjusting screws,
move the camera to line up
with the desired holes and install the camera adjusting screws. Make sure the arrows on the
back of the camera are pointing upward.