EasyManua.ls Logo

Peavey Classic 50/50

Peavey Classic 50/50
19 pages
To Next Page IconTo Next Page
To Next Page IconTo Next Page
To Previous Page IconTo Previous Page
To Previous Page IconTo Previous Page
Loading...
RESONANCE CHANNEL 2 (11)
Used to fine tune speaker enclosure low frequency response by varying the damping factor of channel 2 at
low frequencies.
NOTE: Not operational in mono mode.
PRESENCE CHANNEL 2
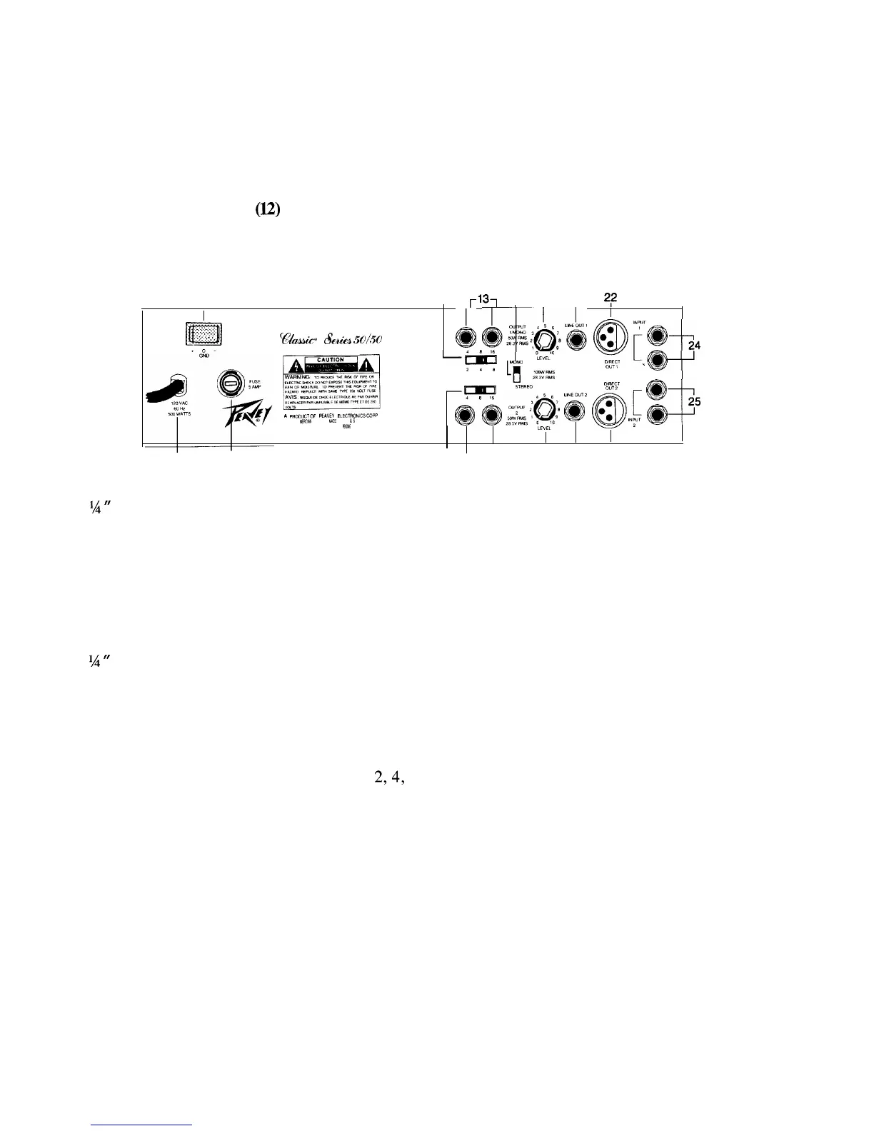
(12)
Used to fine tune speaker enclosure high frequency response by varying the damping factor of channel 2 at
high frequencies.
NOTE: Not operational in mono mode.
26
15
r13-
17 18 20
2?
MIIzIl
.,
;:.
:
>;.:.,...:
.:
.;,
$gY&&f+
c&d
sol!sci
&
@gg;&:L$
@‘fg->4
DMECT
-ee
-T
,g;;
I;;,
\
-l
I\
PRW”CT”F
EWE”
ELtCTRcNCSMRP
MERILIAN
MS
MADE
IN
s
*
PATENT
PENDlNG
-g&*;;Y$&
&
q&L
g-25
LE”,:”
I I
I
27
28
16 -14'
19 21 23
SPEAKER OUTPUTS CHANNEL 1 (13)
Two
r/4
speaker outputs are provided. These jacks are in parallel. The impedance switch for channel 1 selects
the total impedance plugged into the channel 1 output.
NOTE: When switch (mono/stereo) is switched to stereo use the numbers 16, 8, and 4 that are above the
channel 1 impedance switch.
When switch (mono/stereo) is switched to mono use the numbers 8, 4, and 2 that are below the channel 1
impedance switch.
SPEAKER OUTPUTS CHANNEL 2 (14)
Two
‘/4
fl
speaker outputs are provided. These jacks are in parallel. The impedance switch for channel 2 selects
the total impedance plugged into the channel 2 output.
NOTE: Not used for mono operation.
IMPEDANCE SELECTOR CHANNEL 1 (l5)
Used to select the impedance for the speaker cabinet bemg used.
NOTE: 4, 8, and 16 ohms are for stereo mode.
2,4,
and 8 ohms are for mono mode (see mono/stereo switch).
IMPEDANCE SELECTOR CHANNEL 2 (16)
Used to select the impedance for the speaker cabinet being used. 4, 8, and 16 ohms are for stereo mode.
MONO/STEREO SWITCH (17)
Used to select mono or stereo operation of the amplifier.
NOTE: When in mono mode, only channel 1 inputs, outputs, and controls will function. Use channel 1 im-
pedance selector, level, presence, resonance, and line out controls. Make sure BOTH standby switches are
on (both green LED’s are illuminated).
When in stereo mode channel 1 and channel 2 may be operated independently.
LINE OUTPUT LEVEL CHANNEL 1 (18)
Controls the signal level at the line output jack. This control may be used as a balance control when slave
power amp/speaker systems are driven from the line output.
4

Related product manuals