EasyManua.ls Logo

Peco PTO3B - Link Plates Assy & Installation

Peco PTO3B
44 pages
Print Icon
To Next Page IconTo Next Page
To Next Page IconTo Next Page
To Previous Page IconTo Previous Page
To Previous Page IconTo Previous Page
Loading...
8
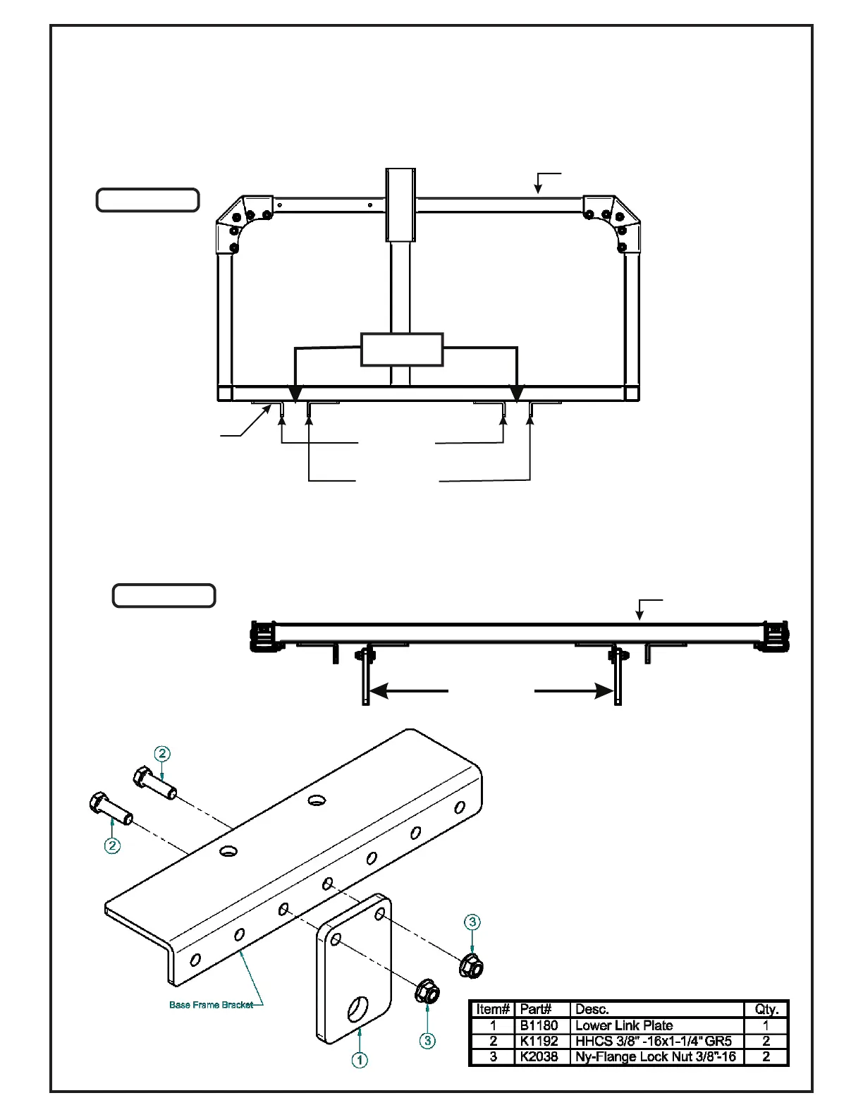
Link Plates Assembly & Installation
To accommodate the Grass Collection System, adjust the lower lift arms of the three-point hitch. Viewing from the
rear, measure either from the left to left of the Base Frame Brackets or the right to right of the Base Frame Brackets to
find the center of distance. Refer to Figure A. Adjust the three-point hitch lower lift arms to the measured distance.
NOTE: Some part features have been hidden from view for visual clarity.
Figure A
Figure B
Rear View
Measure
Left to Left
Measure
Right to Right
Lower
Link Plates
Rear View
Base Frame
Base Frame
Align the holes of the Lower Link Plate (Item #1) to the second set of holes from the rear of the Base Frame
Bracket. Refer to Figure B. Secure the Lower Link Plate with (2) 3/8”-16 x 1-1/4” Hex Bolts (Item #2) and (2) 3/8”-16
Flange Nuts (Item #3). Repeat for the second set Lower Link Plate.
Base Frame
Bracket
Center
Distance

Related product manuals