EasyManua.ls Logo

Pentair 100 - Page 9

Pentair 100
40 pages
To Next Page IconTo Next Page
To Next Page IconTo Next Page
To Previous Page IconTo Previous Page
To Previous Page IconTo Previous Page
Loading...
Rev. G 1-22-04 P/N 471048
9
Operation (contd.)
HEAT (HEAT)
The heat light is on any time the thermostat has
signaled a call for heat which initializes the ignition
safety firing circuit -- the light comes on to indicate
successful firing of the main burners.
SERVICE (SERVICE)
The service light is off during normal operation of
heater. The light only comes on if a problem with a
control has occurred or when the heater is first
firing. The problem must be investigated by the
serviceman prior to attempts to fire the heater again.
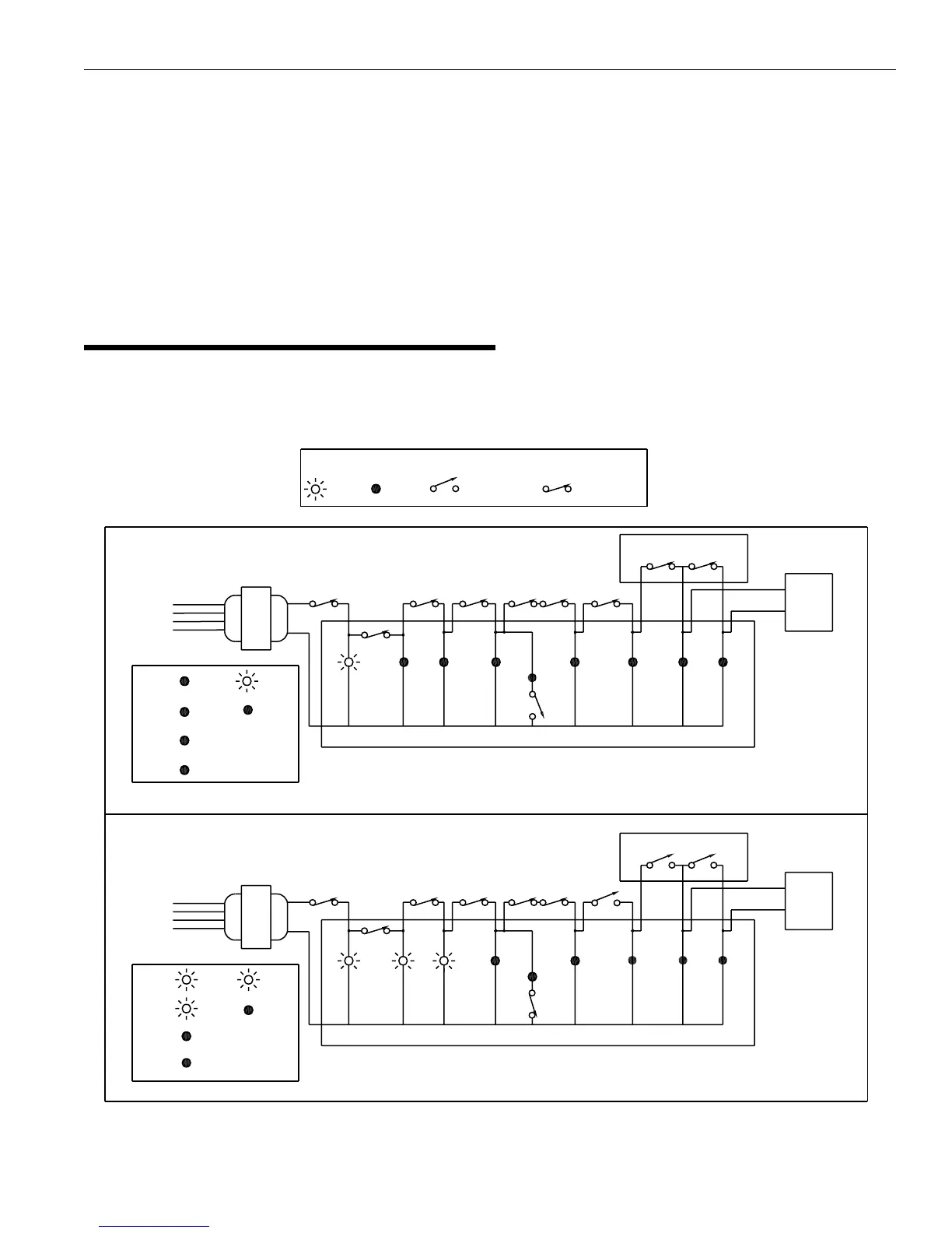
The diagrams that follow give examples of
troubleshooting a malfunctioning heater using the
assistance of the indicator lights.
TROUBLESHOOTING (CONTROLS)
Example of troubleshooting with the assistance of the indicator lights.
PWR TSTAT RMT PRESS
SRVE
HI TEMP TFUSE
GAS VALVE
MV
MV
IGNITION MODULE
IND GND VAL
MV HEAT
CLOSE IF
NO MV
THERMOSTAT
RELAY
REMOTE PRESS TFUSE
HI TEMP
LIMIT SWITCHESBREAKER
CIRCUIT
TRANSFORMER
INCOMING
LINE VOLTAGE
THERMOSTAT CIRCUIT BOARD
LIMIT SWITCHES
HI TEMP
NO MV
CLOSE IF
THERMOSTAT CIRCUIT BOARD
TRANSFORMER
LINE VOLTAGE
INCOMING
PWR
CIRCUIT
BREAKER
TSTAT RMT
RELAY
THERMOSTAT
REMOTE
PRESS
SRVE
PRESS
HI TEMP
MVTFUSE
TFUSE
HEAT
IGNITION MODULE
IND
GND VAL
GAS VALVE
MV
MV
WATER AT SELECTED TEMPERATURE.... NORMAL OPERATION
THERMOSTAT CALLING FOR HEAT - PUMP OFF(NO PRESSURE) BLOCKS FIRING
NORMAL OPERATION
SYMBOL TABLE
LED LIT
LED OFF
SWITCH OR DEVICE
OPEN CIRCUIT
(BLOCK CURRENT)
SWITCH OR DEVICE
CLOSED CIRCUIT
(PASS CURRENT)
THERM
AUX
PRESS
HEAT
POWER
SERVICE
FRONT PANEL LEDS
FRONT PANEL LEDS
HEAT
PRESS
AUX
THERM
SERVICE
POWER
OR POOL/OFF/SPA THERMOSTAT SELECT SWITCH OFF.... NORMAL OPERATION

Related product manuals