EasyManua.ls Logo

Perma Distributor PRO MP-6 - Page 74

Perma Distributor PRO MP-6
76 pages
Print Icon
To Next Page IconTo Next Page
To Next Page IconTo Next Page
To Previous Page IconTo Previous Page
To Previous Page IconTo Previous Page
Loading...
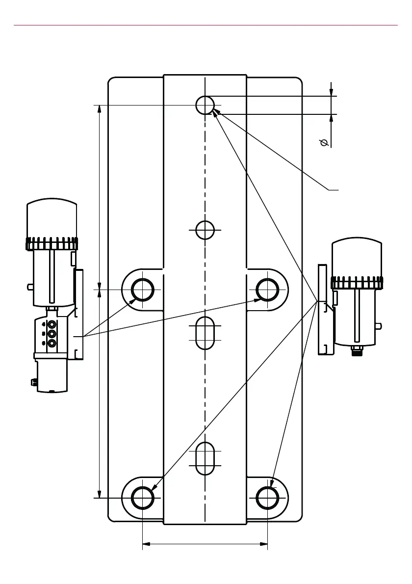
Drilling template 
45
7
5
6
6
.5
6
.5
Drilling template
6FUHZV0
[)DVWLQJSRLQWV [)DVWLQJSRLQWV

Related product manuals