EasyManua.ls Logo

Philips 39” LCD TV - Page 44

Philips 39” LCD TV
97 pages
Print Icon
To Next Page IconTo Next Page
To Next Page IconTo Next Page
To Previous Page IconTo Previous Page
To Previous Page IconTo Previous Page
Loading...
9-13
PL13.11CBLD
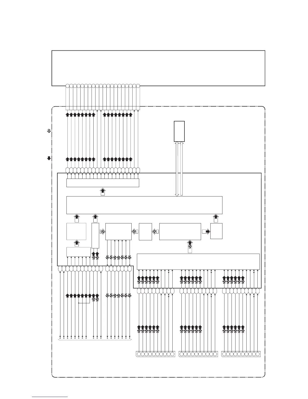
DIGITAL MAIN CBA UNIT
IC3001 (DIGITAL SIGNAL PROCESS)
CN3013
DIGITAL
SIGNAL
PROCESS
HDMI-IN1
HDMI-IN2
JK3003
DATA0(+)
DATA0(-)
DATA1(+)
DATA1(-)
DATA2(+)
DATA2(-)
HDMI-DATA
HDMI-CLOCK
7
9
4
6
1
3
10
12
16
15
7
9
4
6
1
3
10
12
16
15
JK3002
CLOCK(+)
CLOCK(-)
DATA(0-15)
ADDESS(0-13)
AUDIO
DECODER
HDMI
I/F
HDMI SW
TO VIDEO/AUDIO
BLOCK DIAGRAM
VIDEO
DECODER
VIDEO SIGNAL
AUDIO SIGNAL
IC3002
(DDR2 SDRAM)
MDQL(0-7),
MDQU(0-7)
MA(0-13)
A/D
CONVERTER
SW
VGA-R-IN
VGA-G-IN
VGA-B-IN
COM-VIDEO-Y/VIDEO-IN
COM-VIDEO-Pb-IN
COM-VIDEO-Pr-IN
DEMODULATOR
/MPEG DECODER
AUDIO I/F
DIF-OUT1
DIF-OUT2
IF-AGC
IF-AGC
VGA-HSYNC
VGA-VSYNC
VGA-HSYNC
VGA-VSYNC
LVDS
TX
AMP(L)-OUT
AMP(R)-OUT
SPDIF
AUDIO(L)-IN
AUDIO(R)-IN
HP(L)
HP(R)
DATA0(+)
DATA0(-)
DATA1(+)
DATA1(-)
DATA2(+)
DATA2(-)
HDMI-DATA
HDMI-CLOCK
CLOCK(+)
CLOCK(-)
26
32
31
29
27
36
34
38
35
60
61
47
48
63
64
130
5
4
8
7
11
10
3
2
6
9
89
88
92
91
95
94
87
86
93
96
71
70
74
HDMI-IN3
7
9
4
6
1
3
10
12
16
15
JK3004
DATA0(+)
DATA0(-)
DATA1(+)
DATA1(-)
DATA2(+)
DATA2(-)
HDMI-DATA
HDMI-CLOCK
CLOCK(+)
CLOCK(-)
16
15
19
18
22
21
14
13
20
23
108
105
106
101
102
122
123
120
121
118
119
114
115
116
117
99
100
103
104
107
24
23
22
21
20
19
17
16
40
39
38
37
36
35
30
29
33
32
14
13
LVDS-OD0(-)
LVDS-OD0(+)
LVDS-OD1(-)
LVDS-OD1(+)
LVDS-OD2(-)
LVDS-OD2(+)
LVDS-OCLK(-)
LVDS-OCLK(+)
LVDS-OD3(-)
LVDS-OD3(+)
LVDS-ED0(-)
LVDS-ED0(+)
LVDS-ED1(-)
LVDS-ED1(+)
LVDS-ED2(-)
LVDS-ED2(+)
LVDS-ECLK(-)
LVDS-ECLK(+)
LVDS-ED3(-)
LVDS-ED3(+)
LCD PANEL
ASSEMBLY
3. Digital Signal Process Block Diagram

Table of Contents

Related product manuals