EasyManua.ls Logo

Philips WP4161/90 - 維護保養; 日常維護

Philips WP4161/90
34 pages
Print Icon
To Next Page IconTo Next Page
To Next Page IconTo Next Page
To Previous Page IconTo Previous Page
To Previous Page IconTo Previous Page
Loading...
僅可使用原裝飛利浦濾芯進行更換。
60
3分鐘
關閉
12 維護保養
日常維護
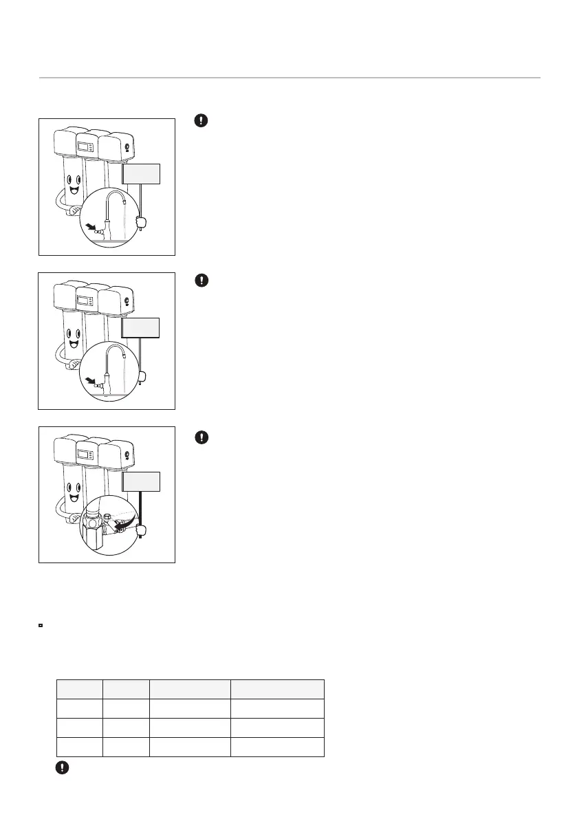
如果兩天以上未使用淨水器,請打開鵝
頸龍頭,過水一分鐘後,再使用淨水器。
如果超過一星期不使用淨水器,請將濾芯密封好,放在冰箱保
鮮室保存(切勿放入冷藏室),下次使用前,先讓淨水器過水
3分鐘。
如果長期不使用淨水器,請關閉三通接頭,與水源斷開。
·
請根據顯示幕濾芯壽命提示或建議更換周期定期更換濾芯。新的濾芯可從飛利浦經銷商處或經
授權的飛利浦服務中心獲得,其供應型號為WP3975WP3977WP3985
濾芯更換
淨水器濾芯更換對照表:
WP3975
1
2
3
WP3977
WP3985
對應濾芯型號位置 名稱
PEGA
CB
UF
建議更換週期:
6-12個月
6-12個月
12-24個月
11

Related product manuals