Specifications for port monitoring
Operation specifications of the main CPU
Conditions for resetting the circuits
Port Name SD/PD Indication Active
A_NG_B AUDIO
Shutdown occurs when the signal is "L."
30 mS ∗ 3 times
OTW AUDIO
Shutdown occurs when the signal is "L."
130 mS ∗ 3 times
Monitoring conditions
RST4 = "H" (always)
(Monitoring starts 2 sec
after the above conditions
are established.)
Operation
The main CPU operations described below will be
performed when either "A_NG_B = L" or "OTW = L" is
detected (established) under the monitoring conditions.
Protection of the Power Amplifier
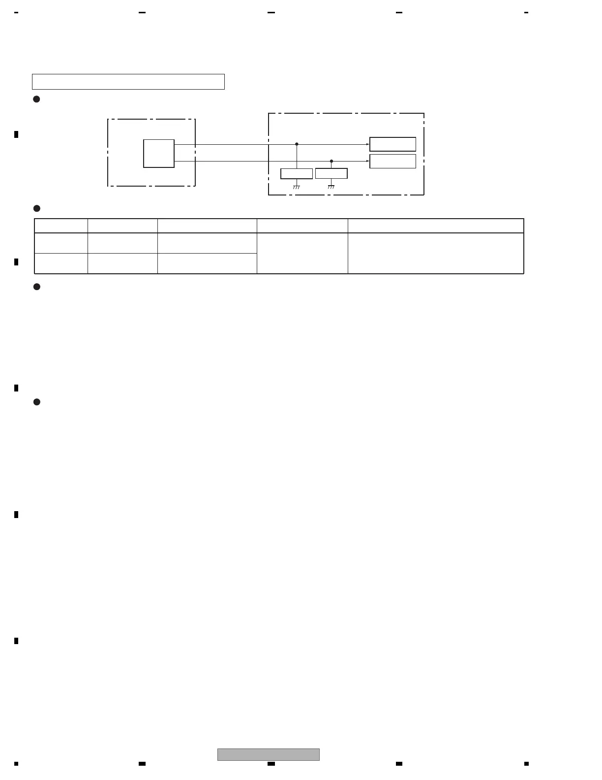
A_NG_BA_NG_B
MAIN_UCOM
PULL_D
OTWOTW
MAIN Assy
TANSHI Assy
(1) When a shutdown decision is made by the main CPU
• After a warning indication is displayed for 5 sec, a shutdown is generated (the blue LED flashes 5 times).
• A warning indication is displayed for all input-signal types.
• Example of a warning indication: "The speaker terminals are short-circuited. After reconnection, turn the unit on again."
(For 50-inch models) (For 42-inch models, an indication declaring a forced power-off is displayed.)
(2) Display conditions
When the panel is on: A warning indication is displayed immediately.
When the panel is off: A warning indication is not displayed immediately but is displayed when the panel is turned on.
Note: A warning indication is displayed each time the panel is turned on if the conditions for a shutdown persist.
The circuits will be reset upon Standby ON/OFF.
IF_UCOM
DIGITAL
POWER
AMP IC
Circuit configuration
PULL_D