EasyManua.ls Logo

Potterton Titanium 28 - 9.0 Plume Displacement; 9.1 Plume Displacement Kit Contents

Potterton Titanium 28
64 pages
Print Icon
To Next Page IconTo Next Page
To Next Page IconTo Next Page
To Previous Page IconTo Previous Page
To Previous Page IconTo Previous Page
Loading...
26
9.0 Plume Displacement
© Baxi Heating UK Ltd 2014
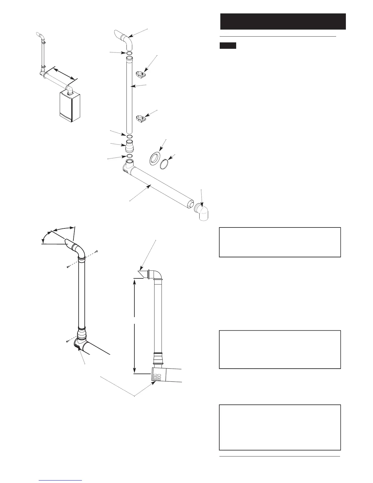
9 .1 Plume Displacement Kit (Fig. 23)
Kit No 5118638
Content of kit
1 0.9m 60/100 Concentric Flue
1 1m 60 Dia Exhaust Flue Pipe
1 Adaptor
2 60 Dia Support Brackets
1 93° Elbow/Plume Outlet Assembly
1 Flexible Flue Trim
3 “O” Rings
1 ‘Jubilee Clip
1 Boiler Elbow
1. This kit is recommended for installations where the
condensate plume emitted from the flue may cause a nuisance
or affect the surroundings.
2. The terminal must be positioned outside the building with
the air inlet facing downward and outlet connection upwards.
3. The plume outlet must always be at least 45° to the wall,
with the ‘peak’ uppermost to prevent rain entry (Figs. 24 &
25), and be at least 2 metres above ground level. It must be
secured as shown in Fig. 19. The plume outlet must also be at
least 500mm from the air inlet in any direction (Fig. 25).
NOTE: The outlet must be positioned so that any
condensate plume is directed away from adjacent surfaces.
There must be a constant fall along the entire length of the
flue system from the outlet back to the boiler.
4. It is possible to reduce or increase (with the addition of
extensions) the length of either or both the 60/100 concentric
and 60Ø exhaust.
5. Standard concentric flue extension kits may be added
between the boiler elbow and the terminal assembly.
6. The minimum length of the concentric flue is 100mm when
measured from the edge of the flue elbow.
IMPORTANT: The maximum equivalent length of
concentric flue is:- 8 metres
Additional bends may be fitted in the concentric flue, but
the equivalent length must be reduced by 1 metre (93°
bend) or 0.5 metres (45° bend).
7. 60Ø 1 metre extensions (including support bracket), and
additional 93° & 45° elbows are available. Any additional 93°
& 45° elbows must be accounted for when calculating flue
lengths.
NOTE: Permitted positions of the plume outlet relative to
doors, windows etc. are the same as for conventional
concentric flues as detailed in the main Installation &
Servicing Instructions and BS5440 Pt. 1. It is NOT
necessary to fit a terminal guard over the air inlet or the
plume outlet.
Air Inlet at Bottom
‘Peak’ Uppermost
Fig. 24
Fig. 25
500mm Min.
45°
45°
Outlet must be at
least 45° from
wall face
93° Elbow/Plume
Outlet Assembly
60Ø Exhaust
Flue Pipe
60Ø Support
Bracket
60Ø Support
Bracket
Flexible Flue
Trim
60/100Ø
Concentric Flue
Adaptor
O Ring
O Ring
O Ring
‘Jubilee’ Clip
0.9 metres
Fig. 23
Fig. 22
Elbow

Related product manuals