EasyManua.ls Logo

PowerMax PM - Section 5.; Sensor Locations; Electrical Connections

PowerMax PM
36 pages
Print Icon
To Next Page IconTo Next Page
To Next Page IconTo Next Page
To Previous Page IconTo Previous Page
To Previous Page IconTo Previous Page
Loading...
Pentair Water Commercial Pool and Aquatics
Page 12
1. The chlorinator should be installed so it
introduces the gas or solution downstream of the
heater.
2. The chlorinator should be wired so it cannot
operate unless the filter pump is operating.
3. The chlorinator should be provided with an anti-
siphon device so that the draining of the piping
after the pump shuts off will not siphon chlorine
solution into the heater.
4. When the operation of a chlorinator is such that
it must be installed in the pump suction, or some
other place where the chlorine solution flows
through the heater, corrosion of the heater can
occur. Excessive concentrations of chlorine
resulting from improper adjustment or
chlorinator equipment failure are responsible for
this corrosion. The heater warranty does not
cover the resulting damage to the heat exchanger.
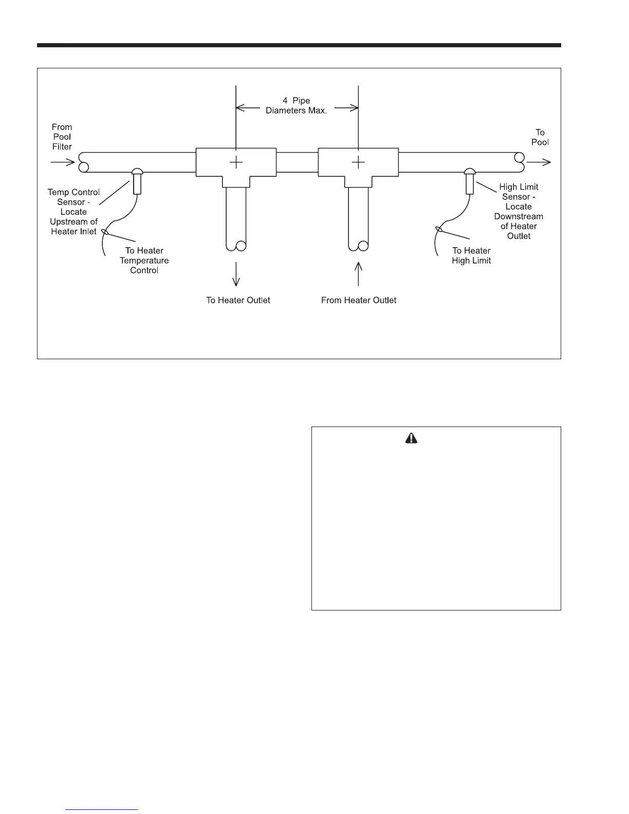
4.3 Sensor Locations
Two sensors must be installed in the pool loop,
as shown in Figure 5. The inlet sensor for the
temperature control must be installed in the pool loop
within 12” (30 cm) of the inlet to the heater. This
sensor is not installed in a well. For sensitivity, it must
be installed in direct contact with the pool water flow.
The second sensor, the high limit sensor, must be
installed in the pool loop within 12” (30 cm)
downstream of the heater outlet. This sensor is a
capillary and bulb. It shall be used with the immersion
well that is provided.
Figure 5. Pool Heater Piping.
The PowerMax Pool Heater is shipped with a field-installed mixing system, and must be piped in
primary-secondary style, as shown. A remote pool temperature sensor and remote pool temperature
high limit are wired to the PowerMax, to be mounted in the pool water loop, as shown.
SECTION 5.
Electrical Connections
WARNING
The appliance must be electrically grounded in
accordance with the requirements of the authority
having jurisdiction or, in the absence of such
requirements, with the latest edition of the National
Electrical Code, ANSI/NFPA 70, in the U.S. and
with latest edition of CSA C22.1 Canadian Electrical
Code, Part 1, in Canada. Do not rely on the gas or
water piping to ground the metal parts of the boiler.
Plastic pipe or dielectric unions may isolate the
boiler electrically. Service and maintenance
personnel, who work on or around the boiler, may
be standing on wet floors and could be electrocuted
by an ungrounded boiler.
Single pole switches, including those of safety
controls and protective devices must not be wired in a
grounded line.
All electrical connections are made in the field
wiring terminal strip, which is located at the right side
of the appliance.
NOTE: All internal electrical components have been
prewired. No attempt should be made to connect
electrical wires to any other location except the field
wiring strip.

Table of Contents