EasyManua.ls Logo

PowerMax PM - Locating Vent & Combustion Air Terminals; Side Wall Vent Terminal

PowerMax PM
36 pages
Print Icon
To Next Page IconTo Next Page
To Next Page IconTo Next Page
To Previous Page IconTo Previous Page
To Previous Page IconTo Previous Page
Loading...
PowerMax Pool Heater
Page 9
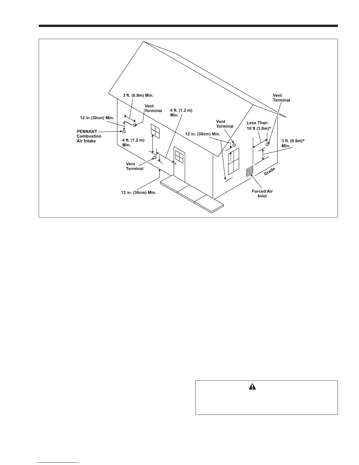
2.3.1 Side Wall Vent Terminal
The side wall vent hood (listed in Table 1) must
be used when the heater is vented through a side wall.
It provides a means of installing vent piping through
the building wall, and must be located in accordance
with ANSI Z223.1/NFPA 54 and applicable local
codes. In Canada the installation must be in
accordance with CAN/CGA B149.1 or .2 and local
applicable codes (see Figure 3). Consider the
following when installing the terminal:
1. Through-the-wall vent terminals must terminate
at least 7-feet above a public walkway.
2. Locate the vent terminal so that vent gases
cannot be drawn into air conditioning system
inlets. The National Fuel Gas Code requires that
it be at least 3 feet (0.9m) above any such inlet
that is within a horizontal distance of 10 feet (3m).
3. Locate the vent terminal so that vent gases
cannot enter the building through doors,
windows, gravity inlets or other openings. The
National Fuel Gas Code requires that it be
located at least 4 feet (1.2m) below, 4 feet (1.2m)
horizontally from, or 1 foot (0.3m) above such
openings. Whenever possible, locations under
windows or near doors should be avoided.
4. Locate the vent terminal so that it cannot be
blocked by snow. The National Fuel Gas Code
requires that it be at least 12 inches (30 cm)
above grade, but the installer may determine it
should be higher, depending upon local
conditions.
5. Locate the terminal so the vent exhaust does not
settle on building surfaces and other nearby
objects. Vent products may damage such
surfaces or objects.
6. Locate the terminal at least 6 feet (1.8m)
horizontally from any gas or electric metering,
regulating, or relief equipment.
7. If the PowerMax uses ducted combustion air
from an intake terminal located on the same wall,
locate the vent terminal at least 3 feet (0.9m)
horizontally from the combustion air terminal,
and locate the vent terminal at least 1 foot (0.3m)
above the combustion air terminal.
8. Note that side wall vent terminals for models
750-2000 are shipped with reducers for the vent
collars, to accommodate horizontal vent sizes,
shown in Table 1.
WARNING
The outdoor vent terminal gets hot. Unit must be
installed in such a way as to reduce the risk of
burns from contact with the vent terminal.
Figure 3. Combustion Air and Vent Through Side Wall.
*When vent terminal is less than 10 feet (3m) horizontally
from a forced air inlet, the terminal must be at least 3 feet
(0.9m) above the air inlet.

Table of Contents