EasyManua.ls Logo

PowerTech MP-3739 - Night mode; Night light function; Timer 1, NLF=ON; Timer 2, NLF=OFF

PowerTech MP-3739
12 pages
Print Icon
To Next Page IconTo Next Page
To Next Page IconTo Next Page
To Previous Page IconTo Previous Page
To Previous Page IconTo Previous Page
Loading...
6
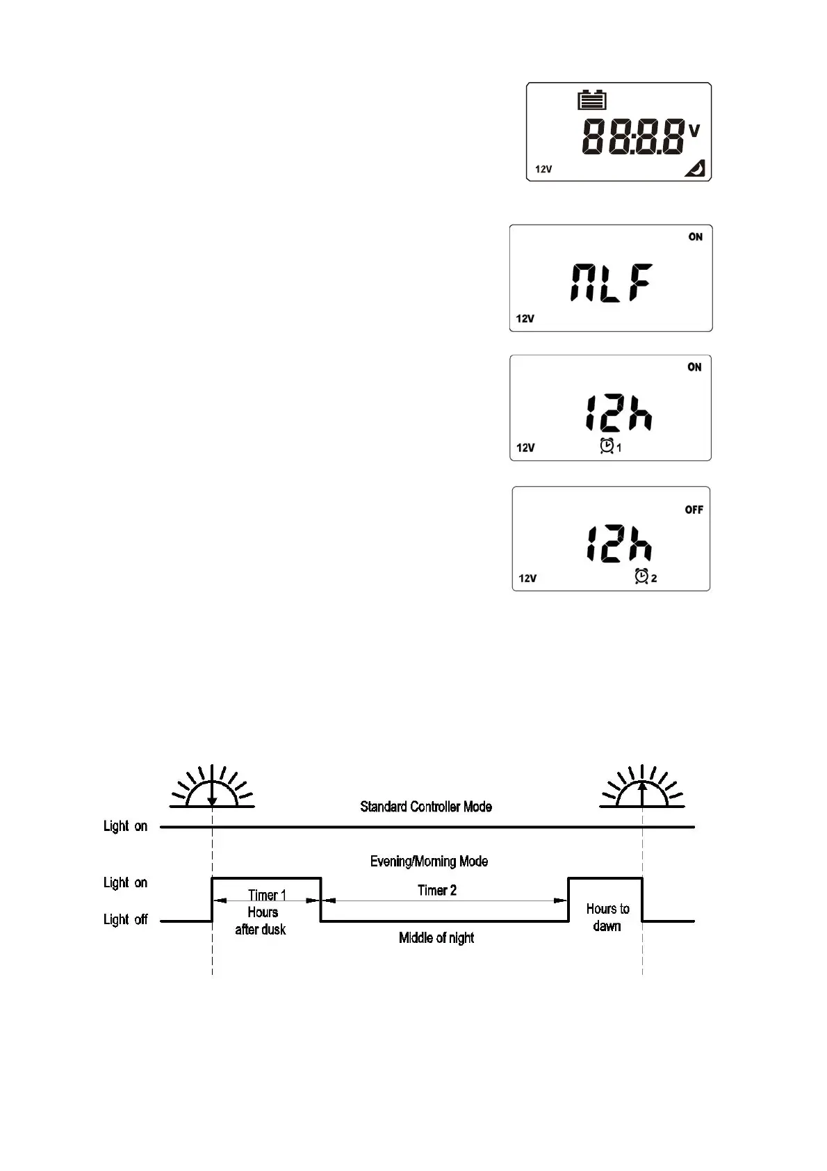
Night mode
If solar array can not provide current or the current is less than 1 Amp
for 5 minutes or more, the controller will switch to Night mode.
Night light function
Press “menu” button 6 times from the default window. Window will
switch to NLF setup interface. Press “enter” button once, then
using Pageup/Pagedown buttons, choose “ON” or ”OFF” and then
confirm with the “enter” button.
Timer 1, NLF=ON
With the NLF switched
to ON, press “menu” button once from the
NLF window, and the window will switc
h to Timer1 setup interface.
Press “enter” button once, you can adjust the “Hour”(1-12hours)
via Pageup/Pagedown” button, and then confirm by “enter”.
e
Tim r 2, NLF=OFF
Press”menu” button again from Time1, window will switch to
Timer2 setup interface. Press “enter” button once, you can adjust
the “Hour”(1-12hours) via “Pageup/Pagedown” button, and then
confirm by”enter”.
NOTE
Timer1 hour setting c
ontrols the time the load is turned ON after entering night mode; Timer2 hour setting
cont
rols the time the load is turned OFF after Timer1 has finished. Once Timer2 is finished, the load will
turn ON automatically untill dawn.(See below diagram)
There are 2
e
mod s of night light load control available: Standard Controller Mode and
Evening/Morning Mode. To program standard c
ontroller mode, set NLF=OFF.
The MP-3739 recognizes days and night based on the solar array voltage. NLF will start when the
PV(Voltage) < 10V for a period of time.

Related product manuals