EasyManua.ls Logo

Pramac P2000i - Control Panel Components

Pramac P2000i
41 pages
Print Icon
To Next Page IconTo Next Page
To Next Page IconTo Next Page
To Previous Page IconTo Previous Page
To Previous Page IconTo Previous Page
Loading...
INVERTER GENERATORP2000i
13
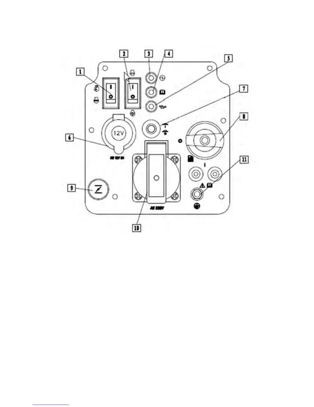
2.2 Control Panel
AC Pilot Light
1. Engine Switch
2. Economy Throttle (Black)
3. AC Pilot Light
4. Overload Indicator Light
5. Oil Warning Light
6. 12V DC Output
7. 8A DC Circuit Breaker
8. Fuel Petcock
9. Choke
10. 220/230/240V AC Outlets
This socket is only corresponding to a client, the different laws and regulations according to the sales area
changes corresponding to the socket.
11. Ground Terminal

Related product manuals