EasyManua.ls Logo

Pro-Form 520i - Exploded Drawing

Pro-Form 520i
31 pages
Print Icon
To Next Page IconTo Next Page
To Next Page IconTo Next Page
To Previous Page IconTo Previous Page
To Previous Page IconTo Previous Page
Loading...
33
31
34
35
32
35
35
43
34
35
35
33
33
104
33
82
105
2
58
3
56
53
53
44
44
13
13
56
3
58
12
3
116
33
60
113
1
37
24
18
22
21
20
4
3
8
76
99
91
97
96
33
35
94
57
87
93
91
92
33
35
88
80
45
106
11
73
24
33
72
70
78
77
76
70
75
75
69
72
33
73
37
35
66
65
62
35
61
68
37
35
35
52
3
60
59
55
44
13
64
113
33
33
33
33
38
39
40
30
37
37
114
114
41
42
37
33
13
44
19
3
13
44
13
44
63
63
49
37
37
24
98
16
17
15
5*
6
7
14
3
12
11
3
8
10
33
24
24
85
37
37
25
26
23
27
29
28
95
46
50
51
54
71
90
89
36
92
57
85
101
102
86
86
103
107
107
108
79
71
67
67
110
2
109
109
110
105
84
83
24
81
74*
74*
9
47
49
48
111
112
100
100
111
112
115
115
117
37
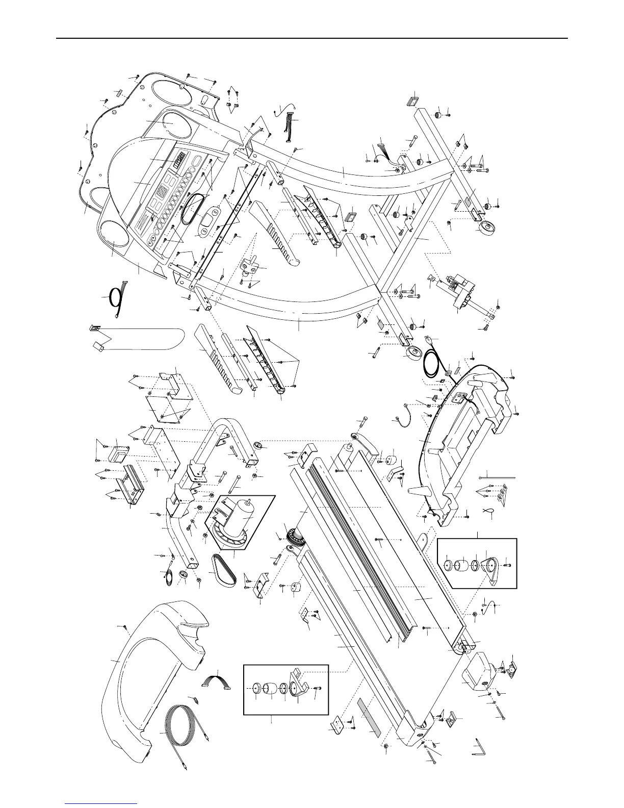
EXPLODED DRAWING—Model No. PFTL59821 R0303A

Related product manuals