EasyManua.ls Logo

pro.point 8475006 - Kit Parts List; Gauge Torque Chart; Pressure Switch Parts List

pro.point 8475006
40 pages
Print Icon
To Next Page IconTo Next Page
To Next Page IconTo Next Page
To Previous Page IconTo Previous Page
To Previous Page IconTo Previous Page
Loading...
60 Gallon Single Stage Stationary Air Compressor
19Visit www.princessauto.com for more information
8475006
V 1.6
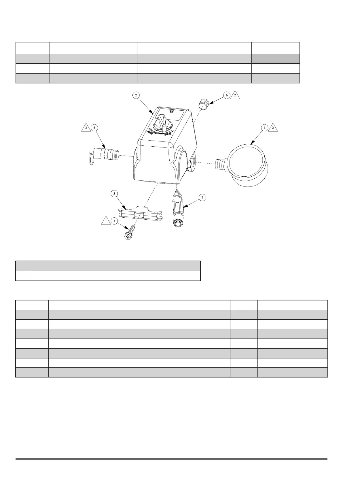
TORQUE CHART - GAUGE
1 Torque 1.4 to 2 ft-lb (1.9 to 2.7 N-m)
2 Torques 10.4 to 12.5 ft-lb (14.1 to 17 N-m)
PARTS LIST – PRESSURE SWITCH
PART # DESCRIPTION QT Y. PART IDENTIFIER
1 Gauge, 300 lb 1/4 in. Bottom Connect 1 032-0025
2 Switch, Pressure 155 PSI (Includes Items 3, 4 & 6, 7) 1 034-0184
3 Strain Relief 1 071-0033
4 Screw 1 061-0216
5 Valve, ASME 1 136-0077
6 Plug, 1/4 in. 1 062-0035
7 Valve, Pressure Relief 1 136-0090
PARTS LIST - KIT
PART # DESCRIPTION INCLUDED PARTS # KIT #
43 Gaskets, Complete Set Items 3, 5, 7, 20, 25 and 37
046-0359
44 Overhaul Kit Items 13, 19, 46 and 4A
165-0313
45 Pump Assembly Items 1 to 42
040-0455