EasyManua.ls Logo

Procom PCNSD25TA - Page 13

Procom PCNSD25TA
36 pages
Print Icon
To Next Page IconTo Next Page
To Next Page IconTo Next Page
To Previous Page IconTo Previous Page
To Previous Page IconTo Previous Page
Loading...
www.usaprocom.com
13200199-01B
WARNING: Make sure Regulator Cap is in the appropriate position as shown in
diagrams. Installation and service should be done by qualified service technician only.
Natural Gas
When using natural gas:
Make sure the cap is installed in the propane/LP inlet of regulator.
Use thread sealant to assure there are no leaks.
Propane/LP Gas
When using propane/LP gas:
Make sure the cap is installed in the natural gas (NG) inlet of regulator.
Use thread sealant to assure there are no leaks.
ADVERTENCIA: Asegúrese la tapa del regulador esté en la posición adecuada,
como se muestra en los diagramas. La instalación y reparaciones deben ser realizadas
por un técnico de servicio calificado solamente.
Gas Natural
Cuando se utiliza gas natural:
Asegúrese de que la tapa está instalado en el propano/LP entrada del regulador.
Utilice sellador de roscas para asegurar que no haya fugas.
Propano/LP Gas
Cuando se utiliza el gas propano / LP:
Asegúrese de que la tapa está instalado en la entrada de gas natural (GN) del regulador.
Utilice sellador de roscas para asegurar que no haya fugas.
FOR PROPANE GAS SUPPLY
PARA LA FUENTE DE GAS DEL PROPANE
CAUTION: The heater requires an external regulator to reduce the LP tank pressure
to a maximum of 14" W.C. Never connect this product directly to the supply tank.
PRECAUCIÓN: El calentador requieres una externa regulador para reducir la presión
del tanque de gas a un máximo de 14" W.C. Nunca conecte este producto
directamente al tanque de suministro.
FOR NATURAL GAS SUPPLY
PARA LA FUENTE DE GAS DEL NATURAL
NOTICE: An additional gas regulator will be necessary if the local natural gas
pressure exceeds the heater's rated maximum inlet pressure. If in doubt, contact the
local gas utility. If natural gas inlet pressure exceeds 10" W.C., the safety pressure
switch will activate. See owners manual for proper procedure to bypass the
pressure switch.
AVISO: Un regulador de gas adicional será necesario si la presión del gas natural
local excede de entrada nominal máxima del calentador presión. En caso de duda,
póngase en contacto con la compañía de gas local. Si la presión de entrada de gas
natural supera los 10" WC, el interruptor de presión de seguridad se activará.
Consulte el manual del propietario para el procedimiento adecuado de derivación
el interruptor de presión.
Procom Heating, Inc. U.S. Patent Information
This product may be covered by one or more of the following United States patents:
8,915,239 8,851,065 8,764,436 8,757,202 8,757,139 8,752,541 8,568,136
8,545,216 8,517,718 8,516,878 8,506,290 8,465,277 8,317,511 8,297,968
8,281,781 8,241,034 8,235,708 8,152,515 8,011,920 7,967,006 7,967,007
7,654,820 7,730,765 7,677,236 7,607,426 7,434,447
Other patents pending.
TOLL-FREE Customer Care Number: 1-866-573-0674
Numero de Atención al Cliente GRATUITO: 1-866-573-0674
Visit our website for more information www.usaprocom.com
Visite nuestra página web para más informacion www.usaprocom.com
200201-01A
03/15
Correct Pilot Flame Pattern
Incorrect Pilot Flame Pattern
NG
3-3.5" WC
Natural Gas
Shown
LP
8-11" WC
NG
3-3.5" WC
Natural Gas
Shown
LP
8-11" WC
1/2 Glas
s
Height
1/2 Glas
s
Height
Yellow
Tipping
Correct Burner Flame Pattern
Incorrect Burner Flame Pattern
LP
Blue Plunger
INSTALL SUPPLIED CAP IN
FITTING NOT BEING USED.
INSTALAR TAPA SUMINISTRADA
MONTAJE NO SE UTILIZA.
NG
Yellow Plunger
This appliance may be installed in an aftermarket,* permanently
located, manufactured (mobile) home, where not prohibited by
local codes.
This appliance is only for use with propane or natural gas.
Field conversion by any other means including the use of a kit
is not permitted.
WARNING: Make sure the supplied cap is installed in
unused regulator fitting before connecting the
correct gas supply line.
WARNING: Do not use natural gas and propane gas
together.
CAUTION: Two gas line installations at the same
time are prohibited.
ADVERTENCIA: Asegúrese de que la línea no
utilizado se conecta por primera vez antes de
conectar la línea de suministro de gas correcta.
ADVERTENCIA: No utilice el gas natural y el gas
propano juntos.
PRECAUCIÓN: Dos instalaciones de líneas de gas al
mismo tiempo están prohibidos.
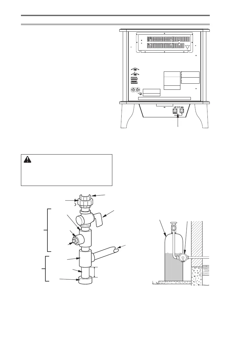
INSTALLATION
Figure 8 - Gas Connection
Figure 7 - Gas Regulator Location and
Gas Line Access Into Stove Cabinet
* Purchase the optional CSA design-certied equipment
shutoff valve from your dealer.
For propane/LP installations, apply pipe
joint sealant lightly to male threads. This will
prevent excess sealant from going into pipe.
Excess sealant in pipe could result in clogged
heater valves.
The installer must supply an external regula-
tor. The external regulator will reduce incom-
ing gas pressure. You must reduce incoming
gas pressure to between 11" and 14" of w.c.
If you do not reduce incoming gas pressure,
heater regulator damage could occur. Install
external regulator with the vent pointing down
as shown in Figure 9. Pointing the vent down
protects it from freezing rain or sleet.
Install sediment trap in supply line as shown
in Figure 8. Place sediment trap where it is
within reach for cleaning. Place sediment trap
where trapped matter is not likely to freeze.
A sediment trap traps moisture and contami-
nants. This keeps them from going into heater
controls. If sediment trap is not installed or is
installed wrong, heater may not run properly.
WARNING: Test all gas piping
and connections for leaks after
installing or servicing. Correct
all leaks at once (see page 14).
Figure 9 - External Regulator
with Vent Pointing Down
External
Regulator with
Vent Pointing
Down
Gas Inlet Regulator
Connection
Propane/LP
Supply Tank
Equipment
Shutoff Valve
Ground
Joint Union
3/8" NPT
Pipe Nipple
Tee Joint
Reducer
Bushing to
1/8" NPT
1/8" NPT
Plug Tap
Test Gauge
Connection*
Sediment
Trap
Tee Joint
Pipe Nipple
Gap
3" Minimum
Natural Gas
From Gas Meter
(5" W.C.** to 9.5"
W.C. Pressure)
Propane/LP
From External
Regulator
(11" W.C.**
to 14" W.C.
Pressure)

Related product manuals