EasyManua.ls Logo

Procom PCSD25T - Gas Selection and Conversion; Unauthorized Gas Setting Changes; Propane to Natural Gas Conversion

Procom PCSD25T
32 pages
Print Icon
To Next Page IconTo Next Page
To Next Page IconTo Next Page
To Previous Page IconTo Previous Page
To Previous Page IconTo Previous Page
Loading...
www.usaprocom.com
11
200047-01A
This appliance is factory
preset for propane/LP gas.
No changes are required for
connecting to propane/LP.
Only
a qualied installer or service
technician can perform gas selec-
tion and connecting to gas supply.
CAUTION: Two gas line in-
stallations at the same time are
prohibited. The access plate
to the simple switching means
shall not be opened while the
heater is in operation.
CAUTION: To avoid gas
leakage at the inlet of regulator,
a qualied installer or service
technician must use supplied
hex plug with sealant.
WARNING: Do not attempt to
access or change the setting of
the fuel selection means.
Access to and adjustment of the fuel selection
means must only be performed by a qualied
service person when connecting this appliance to
a specied fuel supply at the time of installation.
Change of the selector setting to other than
the fuel type specied at the time of installa-
tion could damage this appliance and render
it inoperable.
The installer shall replace the access cover
before completing the installation and operat-
ing this appliance.
For changing from propane to
natural gas supply:
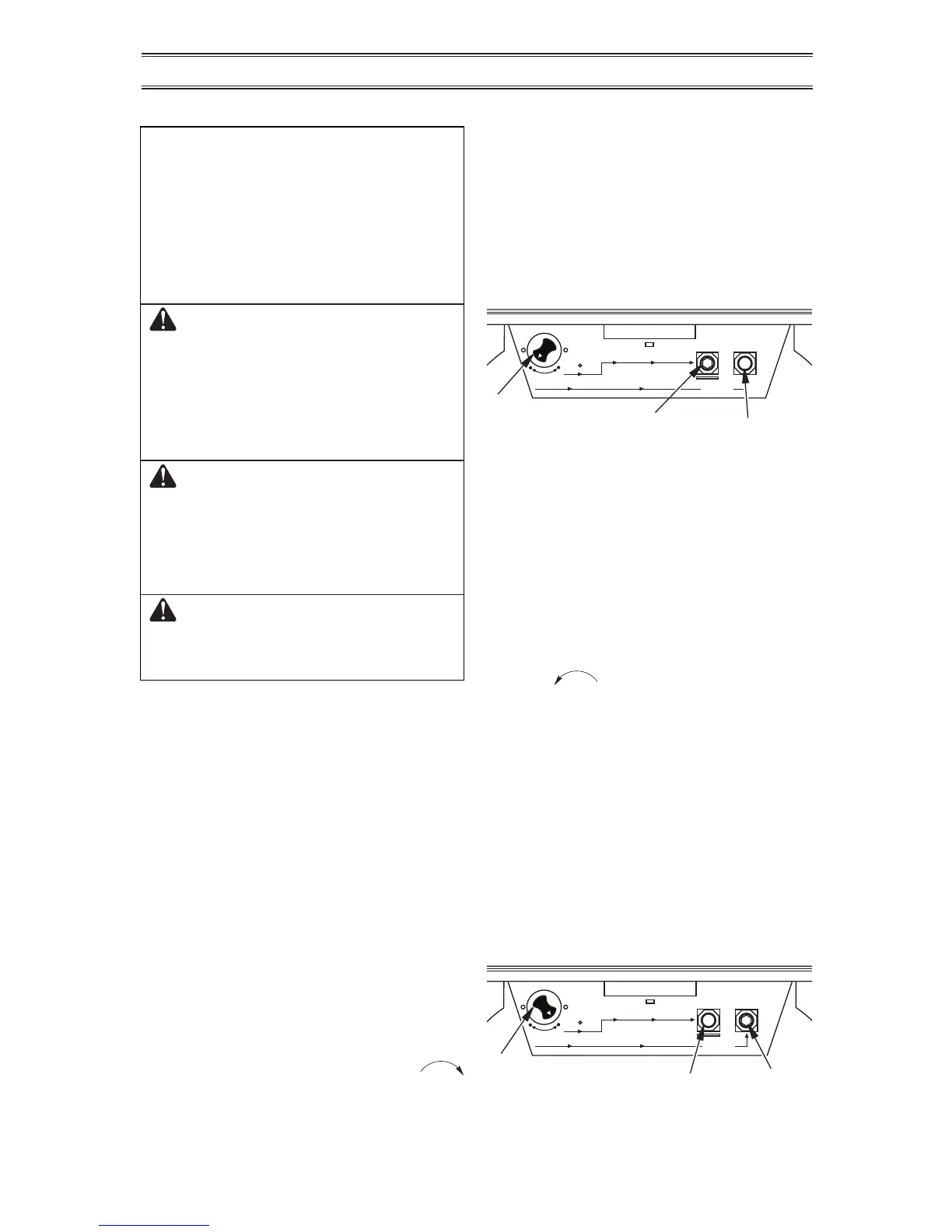
1. Remove 1 screw from gas selector cover
plate (see Figure 5). Rotate to expose fuel
selector device.
2. For NATURAL GAS, press in knob using a
at screwdriver with a blade with thickness
of a quarter and turn knob clockwise
until the knob locks into the NG position
(see Figure 5). Fuel selection device must
be locked in the NG position. Do not oper-
ate heater between locked positions!
NG
Gas Inlet
Gas esté
INLET GAS PRESSURE
MAX 1/2 PSIG (3.5KPa)
Gas Select
Selector de gas
LP
NG
LP
NG
Gas Inlet
Gas esté
INLET GAS PRESSURE
MAX 1/2 PSIG (3.5KPa)
Gas Select
Selector de gas
LP
NG
LP
INSTALLATION
Figure 5 - Settings for Natural Gas
Selection
GAS SELECTION
3. Replace cover over fuel selection device
and reinstall screws.
4. Remove hex plug (with wrench provided)
from natural gas inlet of regulator (see
Figure 5). Install hex plug into LP inlet of
regulator. Install gas line into NG inlet of
regulator. Use thread sealant to assure
there are no leaks.
Fuel
Selector
Knob
Fuel
Selector
Knob
Hex Plug
Hex Plug
Figure 6 - Settings for Propane/LP Gas
Selection
Gas Connection
Fitting
Gas Connection
Fitting
Back of Stove
Back of Stove
For changing from natural gas
supply to propane supply:
1. Remove 1 screw from gas selector cover
plate (see Figure 6). Rotate to expose fuel
selector device
2. For PROPANE GAS, press in knob using a
at screwdriver with a blade the thickness
of a quarter and turn knob counterclock-
wise until the knob locks into the
LP position (see Figure 6). Fuel selection
device must be locked in the LP position.
Do not operate heater between locked
positions.
3. Replace cover over fuel selection device
and reinstall screws.
4. Remove hex plug (with wrench provided)
from propane/LP gas inlet of regulator
(see Figure 6). Install hex plug into NG
inlet of regulator. Install gas line into LP
inlet of regulator. Use thread sealant to
assure there are no leaks.

Related product manuals