EasyManua.ls Logo

ProMinent DFXa - Page 40

ProMinent DFXa
120 pages
Print Icon
To Next Page IconTo Next Page
To Next Page IconTo Next Page
To Previous Page IconTo Previous Page
To Previous Page IconTo Previous Page
Loading...
Briefly press the
[Clickwheel]
.
ð
The software switches to the next menu point or back to the
menu and saves the entry.
Press
[Back]
.
ð
The software switches to the next menu point or back to the
menu without saving anything.
Press
[Menu]
.
ð
The software cancels the entry and switches to a continuous
display without saving anything.
B0777
5432
5
432
4
32
5
5432
2
543
a)
b)
c)
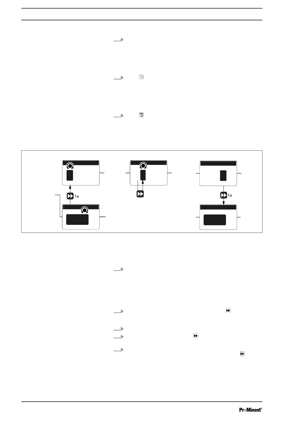
Fig. 28: a) Changing from one figure to its initial figures; b) Changing the figure; c) Returning from the last figure to the
(complete) figure (to correct a wrong figure, for example).
Changing a (complete) number
Turn the
[Clickwheel]
.
ð
The value of the figure highlighted is raised or lowered.
Changing figures
1.
To adjust the value of a figure digit-by-digit, press
[Priming]
.
ð
The first figure is highlighted - see Figure above, point a)
2. To adjust the value of a figure, turn the
[Clickwheel]
.
3.
To move to the next figure, press
[Priming]
- see above Figure,
point b).
4. To run through the figures again, if necessary (possibly because of
an incorrect figure), when you get to the last figure press
[Priming]
again - see above Figure, point c).
ð
Now you can start from the beginning again.
Confirming an entry
Exiting a menu option without confirming it
Returning to a continuous display
Changing adjustable variables
Basic set-up principles
40

Table of Contents

Other manuals for ProMinent DFXa

Related product manuals