EasyManua.ls Logo

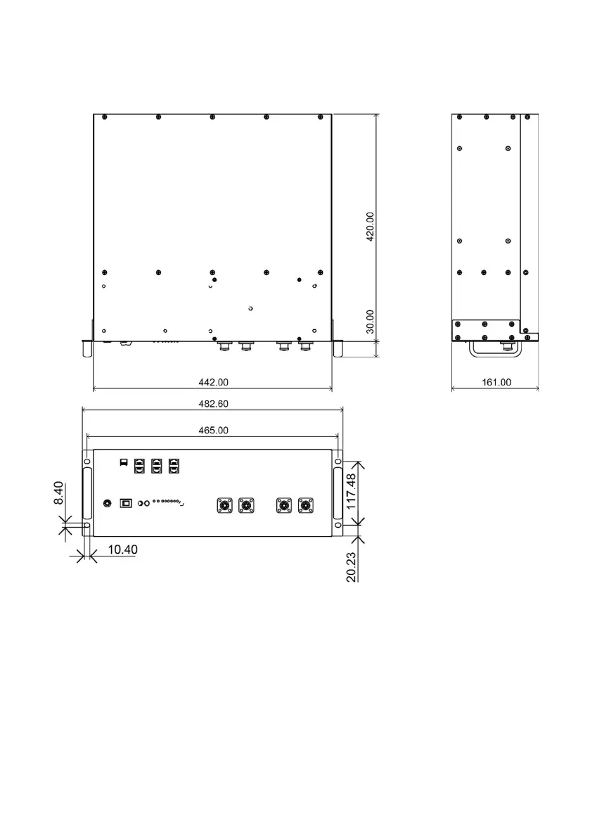
Pylontech US5000-B - Specification

Pylontech US5000-B
36 pages
Print Icon
To Next Page IconTo Next Page
To Next Page IconTo Next Page
To Previous Page IconTo Previous Page
To Previous Page IconTo Previous Page
Loading...
7
3.2 Specification

Related product manuals