EasyManua.ls Logo

QSC CX302 - Page 26

QSC CX302
102 pages
Print Icon
To Next Page IconTo Next Page
To Next Page IconTo Next Page
To Previous Page IconTo Previous Page
To Previous Page IconTo Previous Page
Loading...
26
SP
TD-000077-00-K
Conectores del bloque de terminales
Entradas balanceadas:
Quite ¼ de pulgada (6 mm) de aislamiento del cable y conecte al
enchufe tal como se muestra. Asegúrese de apretar firmemente los tornillos. (Figura 12)
Entradas no balanceadas:
Quite ¼ de pulgada (6 mm) de aislamiento del cable y conecte al
enchufe tal como se muestra. La pata central debe estar conectada con la pata de blindaje como
se muestra. Asegúrese de apretar firmemente los tornillos. (Figura 13)
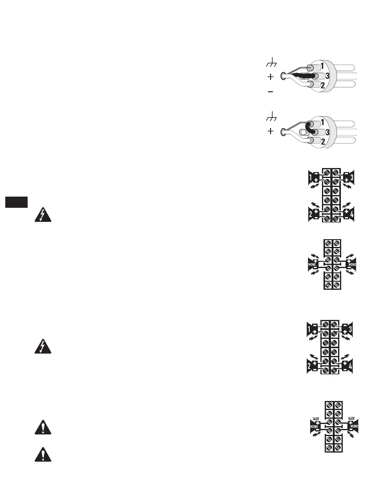
Entradas XLR (sólo modelos de dos canales)
Entradas balanceadas:
Conecte al enchufe tal como se muestra. (Figura 14)
Entradas no balanceadas:
Conecte al enchufe tal como se muestra. La pata 3 y la pata 1
se deben conectar con un puente como se muestra. (Figura 15)
Salidas
Las conexiones del cableado se muestran en la parte posterior del chasis. Note detenidamente las marcas de polaridad,
que están configuradas para facilitar las conexiones del modo puenteado. En el ejemplo se muestran los modelos de cuatro
canales; los modelos de dos canales son similares.
¡ADVERTENCIA!:
No toque los terminales de salida mientras el amplificador está encendido. Haga
todas las conexiones con el amplificador apagado. ¡Riesgo de energía peligrosa!
Salidas de baja impedancia
Modo estéreo y paralelo:
Conecte cada altavoz a su propio canal del amplificador, tal como se muestra en la etiqueta
del chasis. Los conmutadores de configuración de modo deben ajustarse en modo estéreo o paralelo. (Figura 16)
Modo puenteado:
El modo puenteado configura el par de canales para que excite una sola carga de alta potencia del
altavoz. Los conmutadores de configuración de modo se deben ajustar en el modo puenteado. Use sólo la entrada y el
control de ganancia del primer canal. Ajuste el control de ganancia del segundo canal al mínimo. (Figura 17)
Salidas distribuidas (modelos “V”, 70V/140V)
Modo estéreo y paralelo:
Conecte cada circuito de 70V a su propio canal del amplificador, como se muestra en la
etiqueta del chasis. Los conmutadores de configuración de modo deben ajustarse en modo estéreo o paralelo. (Figura 18)
¡ADVERTENCIA!:
Salida de 70V: ¡Riesgo de energía peligrosa! Use cables de clase 2 para salidas
de 70V.
Modo puenteado:
El modo puenteado configura el par de canales para que excite a un solo circuito de sonido de 140V.
Los conmutadores de configuración de modo se deben ajustar en el modo puenteado. Use sólo la entrada y el control de
ganancia del primer canal. Ajuste el control de ganancia del segundo canal al mínimo. Conecte la carga como se muestra
en la etiqueta del chasis.
(Figura 19)
PRECAUCIONES CON EL MODO PUENTEADO DE 140V:
NOTA:
El cableado de Clase 3 se debe usar para las salidas monopuenteadas de 140V.
NOTA:
Conecte sólo circuitos de sonido distribuido de 140V en modo puenteado. ¡No use cargas de 70V en
modo puenteado! Use los canales de modo estéreo o paralelo para excitar cargas de 70V. 140V es el mínimo
para una operación de modo puenteado.
— Figura 14 —
1 =
2 =
3 =
— Figura 15 —
1 =
2 =
3 = Puente en 1
— Figura 16 —
— Figura 17 —
— Figura 18 —
— Figura 19 —

Other manuals for QSC CX302

Related product manuals