EasyManua.ls Logo

QSC ISA 450 - Connections: High Impedance Outputs (HI-Z), Stereo & Parallel; HI-Z Connections for 25 V, 70 V, 100 V Lines

QSC ISA 450
40 pages
To Next Page IconTo Next Page
To Next Page IconTo Next Page
To Previous Page IconTo Previous Page
To Previous Page IconTo Previous Page
Loading...
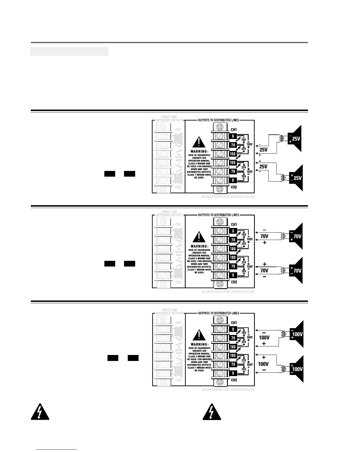
CONNECTIONS: OUTPUTS- DISTRIBUTED HIGH IMPEDANCE (HI-Z) , STEREO & PARALLEL
Stereo and Parallel Amplifier Mode Distributed Output Connections-
Use these terminals for 25, 70 or 100 volt distributed loads when the amplifier is in stereo or parallel mode.
The ISA 300T, ISA 500T and ISA 800T amplifiers have high impedance (Hi-Z) outputs suitable for driving 25, 70, and 100 volt distributed
audio lines. These loads should be driven by the amplifier in stereo or parallel modes. For 140 volt or 200 volt output, the amplifier
must be configured for bridge mode. Bridge mode connections to the high impedance distributed outputs is discussed on the following
page. In the diagrams below, only one speaker load for each channel is shown for clarity. Distributed lines usually have several speaker
loads on each output line.
Class 2 wiring may be used. For
bridged mono and 100V distributed
outputs, class 1 wiring must be used.
25 Volt Stereo or Parallel Connection
70 Volt Stereo or Parallel Connection
100 Volt Stereo or Parallel Connection
70 volt lines:
Connect one of the 70 volt lines to the CH1 terminals
marked 70V.
Connect the other 70 volt line to the CH2 terminals
marked 70V.
The 70V connection is between the 0 and 70
markings.
Ensure proper polarity is maintained for all connections.
25 volt lines:
Connect one of the 25 volt lines to the CH1 terminals
marked 25V.
Connect the other 25 volt line to the CH2 terminals
marked 25V.
The 25V connection is between the 70 and 100
markings.
Ensure proper polarity is maintained for all connections.
100 volt lines:
Connect one of the 100 volt lines to the CH1 terminals
marked 100V.
Connect the other 100 volt line to the CH2 terminals
marked 100V.
The 100V connection is between the 0 and 100
markings.
Ensure proper polarity is maintained for all connections.
22
OUTPUT TERMINAL SAFETY WARNING!
Do not touch output terminals while amplifier power is on. Make all
connections with amplifier turned off. Risk of hazardous energy!

Other manuals for QSC ISA 450

Related product manuals