EasyManua.ls Logo

Quectel BG95-M3 - Page 64

Quectel BG95-M3
84 pages
Print Icon
To Next Page IconTo Next Page
To Next Page IconTo Next Page
To Previous Page IconTo Previous Page
To Previous Page IconTo Previous Page
Loading...
LPWA Module Series
BG95 Hardware Design
BG95_Hardware_Design 63 / 80
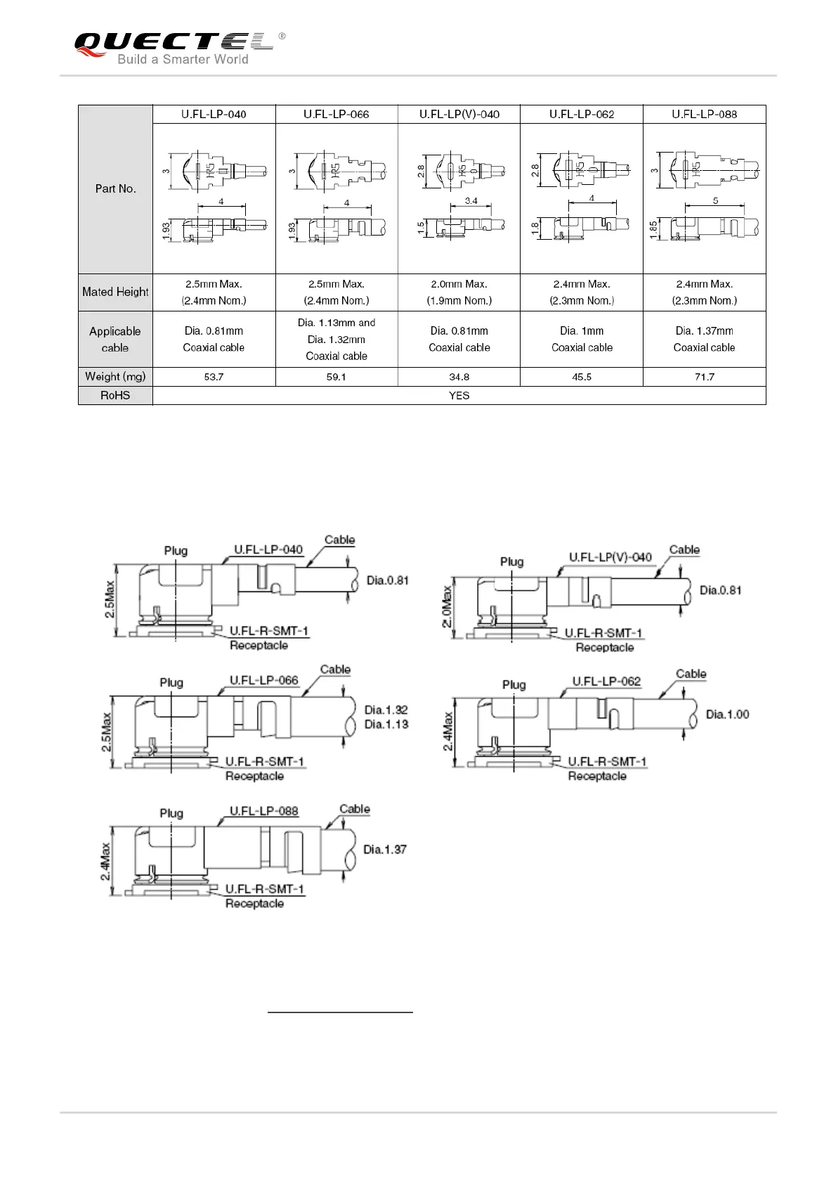
Figure 29: Mechanicals of U.FL-LP Connectors
The following figure describes the space factor of mated connector.
Figure 30: Space Factor of Mated Connector (Unit: mm)
For more details, please visit http://www.hirose.com
.

Table of Contents

Related product manuals