EasyManua.ls Logo

Rain Bird ESP-8 - REPLACING THE BATTERY

Rain Bird ESP-8
15 pages
Print Icon
To Next Page IconTo Next Page
To Next Page IconTo Next Page
To Previous Page IconTo Previous Page
To Previous Page IconTo Previous Page
Loading...
10Technical Support: 1-800-RAIN BIRD
Run Test Program
The ESP controller has a built-in test program that
will run each station in sequence for two minutes.
You can use this program to check out the opera-
tion of all the sprinklers in the system.
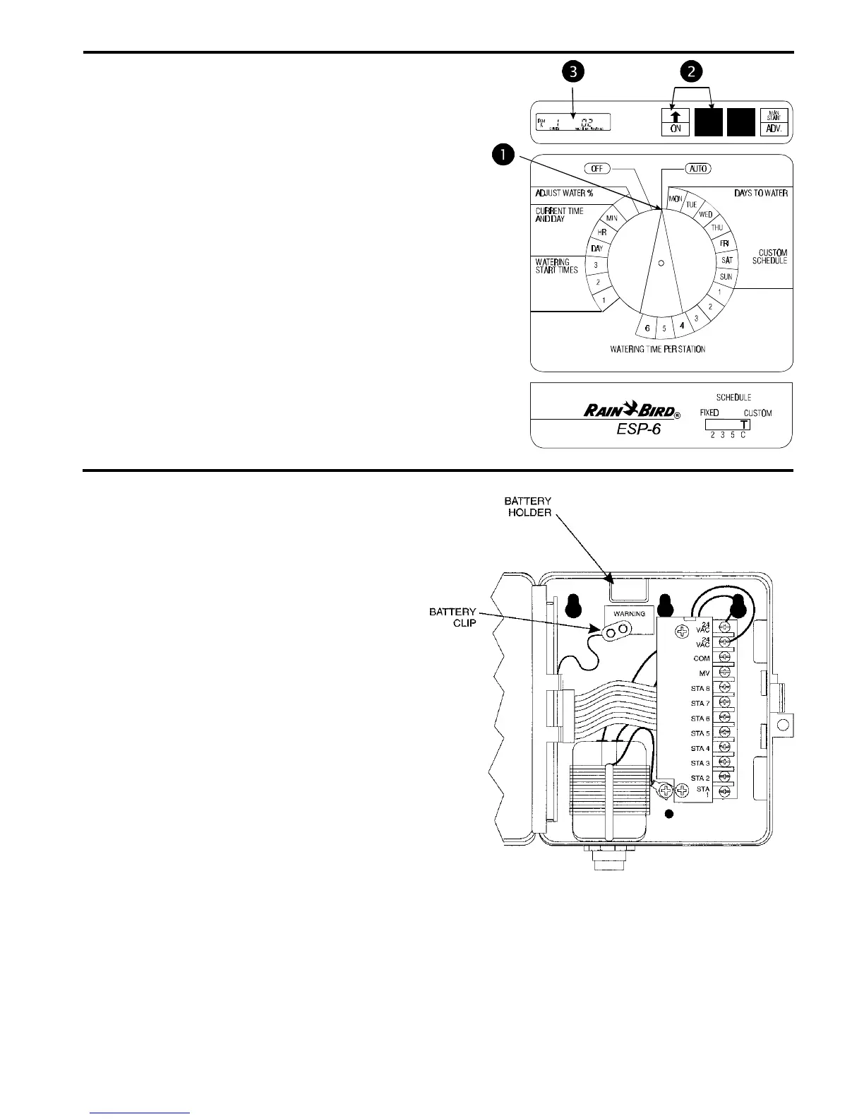
Œ Turn the dial to AUTO.
Press both arrow buttons at the same time and
hold them down.
Ž The display shows the first station number and
two minutes of watering time remaining. The
controller will run each station for two minutes
and then return to AUTO mode to await the next
scheduled start time. Any station that has been
set to a 0 run time will be skipped during the
test program.
REPLACING THE BATTERY
The ESP controller features a rechargeable battery
backup, which will preserve the controller's pro-
gram in the event of a power failure. A fully
charged battery will maintain the controller's pro-
gram and keep current time for up to three days.
However, the battery cannot operate the system.
To replace the battery:
Œ Open the controller door and swing the face
panel out on its hinges from right to left.
Remove the old battery from the battery holder
and disconnect it from the battery clip. Connect
a new 9-Volt rechargeable, NiCad battery to the
battery clip. Then insert the battery into the bat-
tery holder.
CAUTION: DO NOT use 9-Volt alkaline batteries.
They may burst or leak when subjected to the con-
tinuous charging circuit of the ESP. Use NiCad bat-
teries only.

Related product manuals