EasyManua.ls Logo

Ranger DST30P - Brake Assembly

Ranger DST30P
60 pages
Print Icon
To Next Page IconTo Next Page
To Next Page IconTo Next Page
To Previous Page IconTo Previous Page
To Previous Page IconTo Previous Page
Loading...
DST30P Wheel Balancer 52 P/N 5900163 Rev. C1 — March 2020
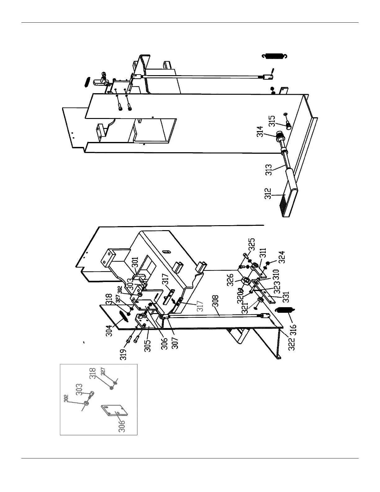
Brake Assembly

Related product manuals