EasyManua.ls Logo

Raypak 122-322 - Direct Vent

Raypak 122-322
56 pages
Print Icon
To Next Page IconTo Next Page
To Next Page IconTo Next Page
To Previous Page IconTo Previous Page
To Previous Page IconTo Previous Page
Loading...
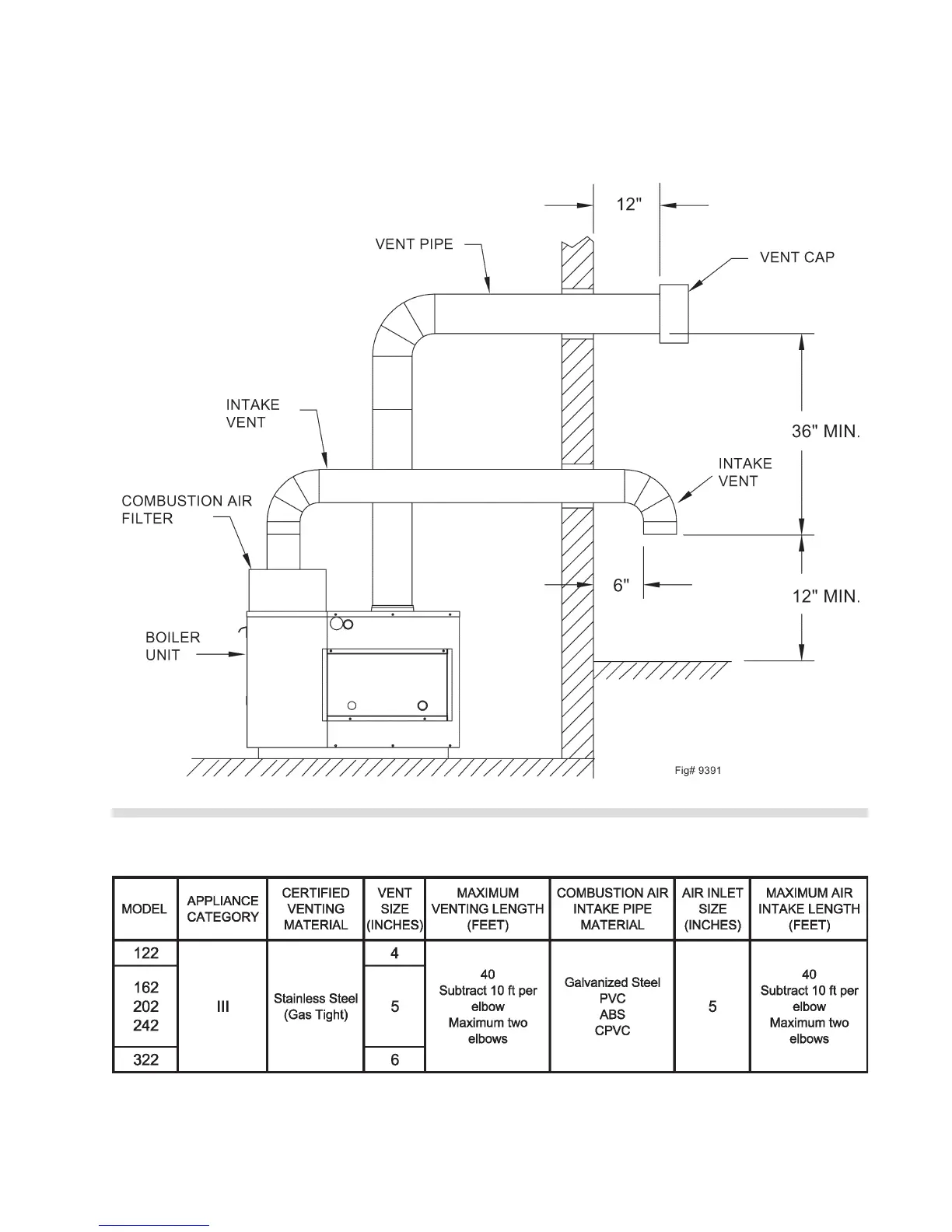
DIRECT VENT
Horizontal Thru-wall Venting
(Category III)
HORIZONTAL THRU-WALL VENTING TABLE
33
SECTION J-3

Related product manuals