EasyManua.ls Logo

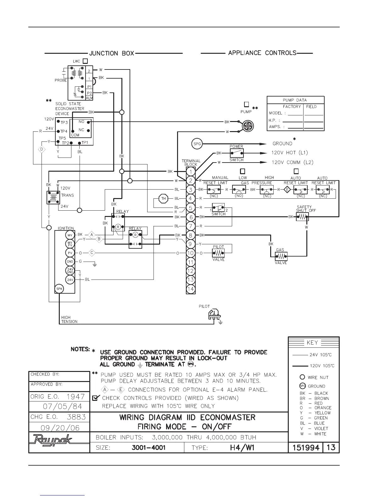
Raypak 1334001 - Wiring Diagram-WH1 3001-4001

Raypak 1334001
52 pages
Print Icon
To Next Page IconTo Next Page
To Next Page IconTo Next Page
To Previous Page IconTo Previous Page
To Previous Page IconTo Previous Page
Loading...
44
'2;2702*0;*6E'D

Table of Contents

Related product manuals