EasyManua.ls Logo

RCA Spectra 70 - Page 16

RCA Spectra 70
260 pages
Print Icon
To Next Page IconTo Next Page
To Next Page IconTo Next Page
To Previous Page IconTo Previous Page
To Previous Page IconTo Previous Page
Loading...
-1
o
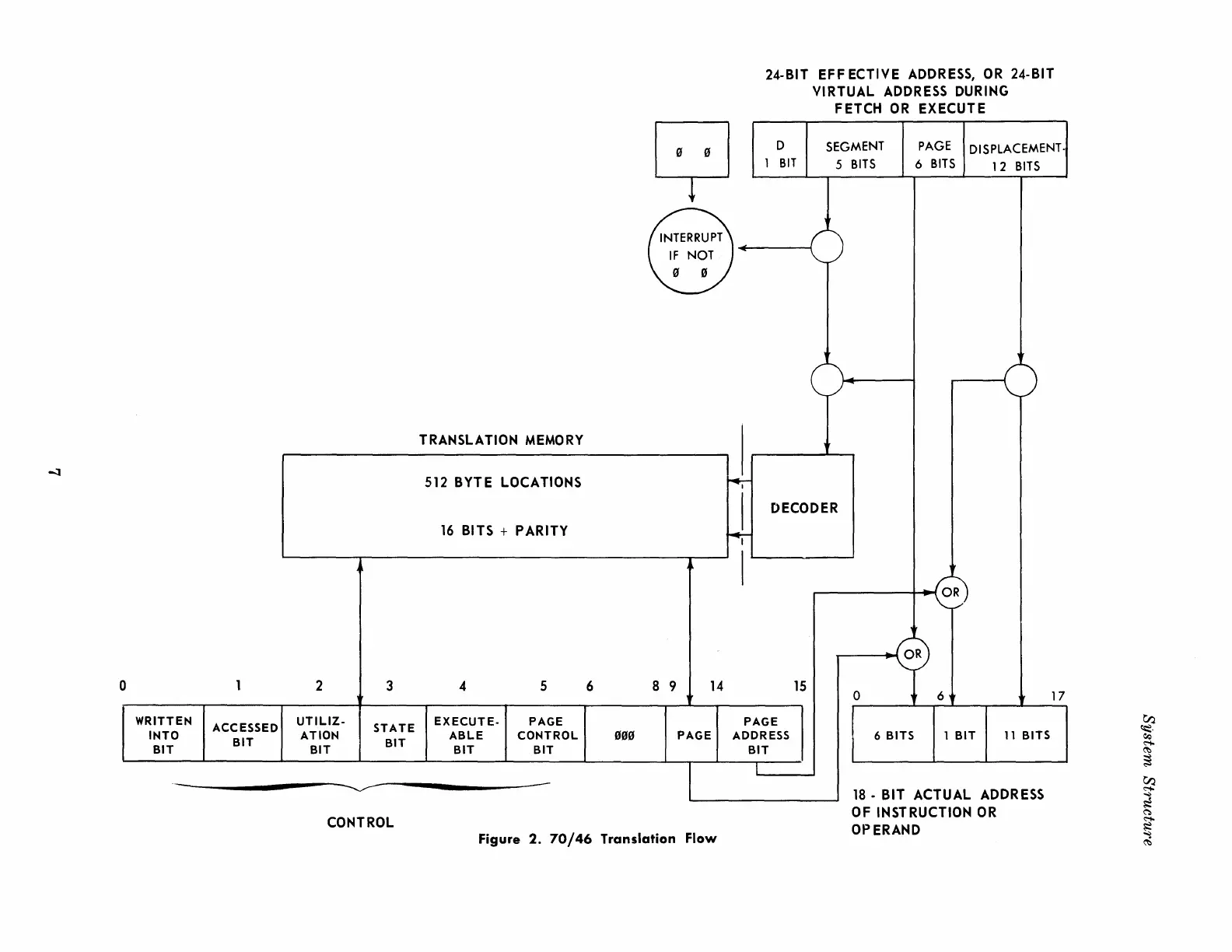
WRITTEN
INTO
BIT
ACCESSED
BIT
2
UTILIZ-
ATION
BIT
3
STATE
BIT
TRANSLATION
MEMORY
512
BYTE LOCATIONS
16
BITS + PARITY
4
EXECUTE.
ABLE
BIT
5
PAGE
CONTROL
BIT
-----------------~----------------
CONTROL
6
BBB
24-BIT EFF ECTIVE
ADDRESS,
OR
24-BIT
VIRTUAL
ADDRESS
DURING
FETCH
OR
EXECUTE
Q
D
BIT
SEGMENT
5
BITS
PAGE
I DISPLACEMENT.
6
BITS
1 2
BITS
INTERRUPT
IF
NOT
B B
8 9
14
PAGE
~
1
DECODER
I
PAGE
ADDRESS
BIT
L
15
o
17
Figure 2.
70/46
Translation
Flow
18
- BIT ACTUAL
ADDRESS
OF
INSTRUCTION
OR
OPERAND
t/:l
~.
~
<:-t-
(1:)
~
t/:l
<:-t-
~
(')
<:-t-
~
(1:)

Table of Contents

Other manuals for RCA Spectra 70

Related product manuals