EasyManua.ls Logo

Realistic trc-448 - Noise Blanker Alignment Chart

Realistic trc-448
36 pages
Print Icon
To Next Page IconTo Next Page
To Next Page IconTo Next Page
To Previous Page IconTo Previous Page
To Previous Page IconTo Previous Page
Loading...
0 0
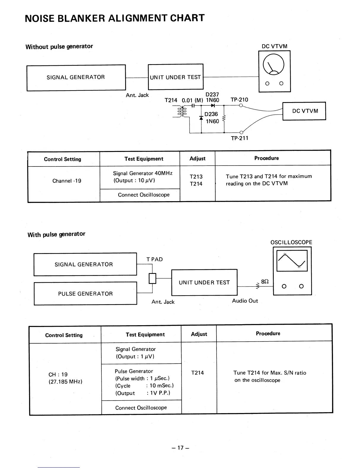
NOISE BLANKER ALIGNMENT CHART
Without pulse generator
DC VTVM
SIGNAL GENERATOR
UNIT UNDER TEST
0 0
Ant. Jack
D237
T214 0.01 (M) 1N60
D236
1N60
TP-210
DC VTVM
TP-211
Control Setting
Test Equipment
Adjust
Procedure
Channel -19
Signal Generator 40MHz
(Output :10µV)
T213
T214
Tune T213 and T214 for maximum
reading on the. DC VTVM
Connect Oscilloscope
With pulse generator
OSCILLOSCOPE
T PAD
SIGNAL GENERATOR
UNIT UNDER TEST
PULSE GENERATOR
Ant. Jack
Audio Out
Control Setting
Test Equipment
Adjust
Procedure
CH : 19
(27.185 MHz)
Signal Generator
(Output : 1 µV)
T214
Tune T214 for Max. S/N ratio
on the oscilloscope
Pulse Generator
(Pulse width : 1 µSec.)
(Cycle
: 10 mSec.)
(Output
: 1V P.P.)
Connect Oscilloscope

Related product manuals