EasyManua.ls Logo

Reflecta Super8-Normal8 - Filmtyp; Lieferumfang; Tastenfunktionen

Reflecta Super8-Normal8
62 pages
Print Icon
To Next Page IconTo Next Page
To Next Page IconTo Next Page
To Previous Page IconTo Previous Page
To Previous Page IconTo Previous Page
Loading...
2
Lieferumfang
1. Film-Scanner (1x)
2. Netzteil (1x)
3. USB-Kabel (1x)
4. TV-OUT-Kabel (1x)
5. 5" Filmspule mit 8 mm Durchmesseröffnung (1x)
6. Filmspulenadapter (2x)
DE
7. Pinsel (1x)
8. Bedienungsanleitung (1x)
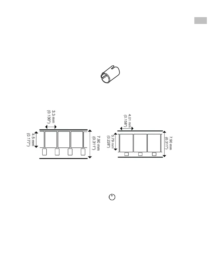
Filmtyp
Spulenadapter
8 mm auf 13m
8 mm Super 8
Tastenfunktionen
1. Netzschalter: Zum Ein-/Ausschalten.
2. Pfeiltasten Up oder Down: Zum Markieren von Menüpunkten auf
der LCD-Anzeige.
3. Enter/Start/Stop-Taste: Zum Starten/Stoppen von markierten Punkten.
4. Menu-Taste: Zur Rückkehr zur Menüauswahl. Zweimal drücken, um zum
Menümodus oder Aufnahme-Modus zu gehen.

Table of Contents

Related product manuals