EasyManua.ls Logo

Reflecta Super8-Normal8 - Contenu de Lemballage; Fonction des Touches; Type de Film

Reflecta Super8-Normal8
62 pages
Print Icon
To Next Page IconTo Next Page
To Next Page IconTo Next Page
To Previous Page IconTo Previous Page
To Previous Page IconTo Previous Page
Loading...
2
Contenu de l'emballage
1. Numériseur de films (x 1)
2. Adaptateur d’alimentation (x 1)
3. Câble USB (x 1)
4. Câble sortie TV (x 1)
5. Bobine de 5 pouces (x 1)
6. Adaptateur de bobine (x 1)
FR
7. Brosse (x 1)
8. Manuel d’utilisation
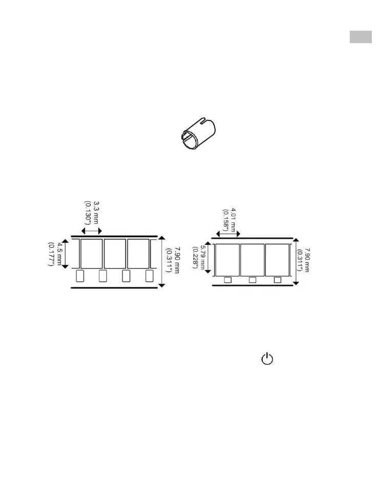
Type de film
Adaptateur de bobine
Diamètre : intérieur - 8 mm,
extérieur - 13 mm
8 mm Super 8
Fonction des touches
1. Touche alimentation: éteindre ou allumer l’appareil.
2. Touches directionnelles « Up » ou « Down » : mettre un élément du
menu en surbrillance à l’écran LCD.
3. Touche « Enter/Start/Stop » : activer/désactiver un élément
en surbrillance.
4. Touche « Menu » : revenir à la sélection du menu; appuyez deux fois
pour entrer dans le mode menu ou enregistrement.

Table of Contents

Related product manuals