EasyManua.ls Logo

Reflecta Super8-Normal8 - Contenido del Embalaje; Funciones de Los Botones; Tipo de Película

Reflecta Super8-Normal8
62 pages
Print Icon
To Next Page IconTo Next Page
To Next Page IconTo Next Page
To Previous Page IconTo Previous Page
To Previous Page IconTo Previous Page
Loading...
2
Contenido del embalaje
1. 1x escáner de película
2. 1x adaptador de alimentación
3. 1x cable USB
4. 1x cable de salida de TV
5. 1x carrete de 5"
6. 2x adaptadores de carrete
ES
7. 1x cepillo
8. 1x manual del
usuario
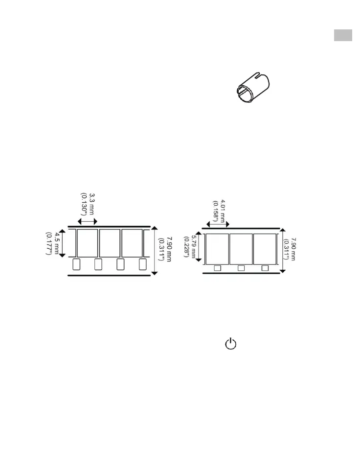
Tipo de película
Adaptador de carrete
Diámetro interior 8 mm;
exterior 13 mm
8 mm Súper 8
Funciones de los botones
1. Botón de encendido: Para encender o apagar.
2. Botones de flechas Up o Down: Para seleccionar el elemento del
menú en el visor LCD.
3. Botón Enter/Start/Stop: Para iniciar/parar el elemento seleccionado.
4. Botón Menu: Para volver al menú; pulse dos veces para ir al modo
menú o al modo grabación.

Table of Contents

Related product manuals