EasyManua.ls Logo

Renault K9K - Page 876

Renault K9K
993 pages
Print Icon
To Next Page IconTo Next Page
To Next Page IconTo Next Page
To Previous Page IconTo Previous Page
To Previous Page IconTo Previous Page
Loading...
19B-2
EXHAUST
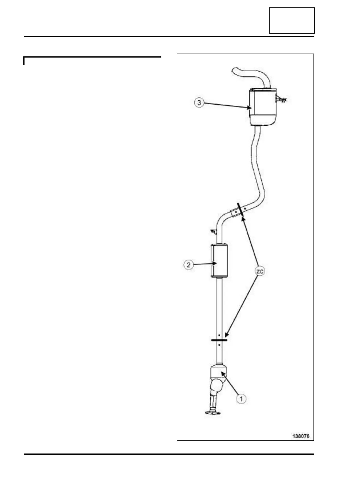
Exhaust: Parts and consumables for the repair work
19B
K4M
138076

Table of Contents

Related product manuals