EasyManua.ls Logo

RIDGID 700 - Wiring Diagrams and Schematics; Wiring Color Codes; 230 V Wiring Schematic

RIDGID 700
43 pages
Print Icon
To Next Page IconTo Next Page
To Next Page IconTo Next Page
To Previous Page IconTo Previous Page
To Previous Page IconTo Previous Page
Loading...
Ridge Tool Company
12
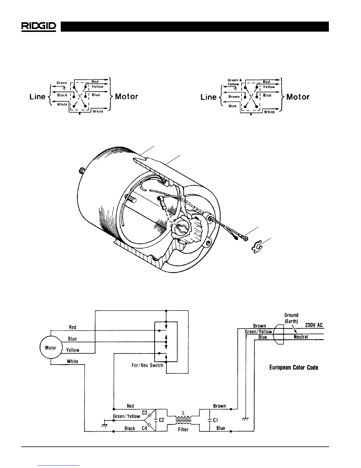
No. 700 Portable Power Drive
Wiring Diagram (115/230V)
Standard Color Code
European Color Code
Installation of Brush Lead Wires
Field
Motor Housing
Brush Lead Wire
Locking Clip
Wiring Schematic (230V) - with Line Filter

Table of Contents

Other manuals for RIDGID 700

Related product manuals