EasyManua.ls Logo

RIDGID TP1300LS - Applications; Assembly

RIDGID TP1300LS
24 pages
Print Icon
To Next Page IconTo Next Page
To Next Page IconTo Next Page
To Previous Page IconTo Previous Page
To Previous Page IconTo Previous Page
Loading...
6
5
4
2
1
0
0
1
2
3
4
5
6
7
8
9
10
11
12
13
14
15
3
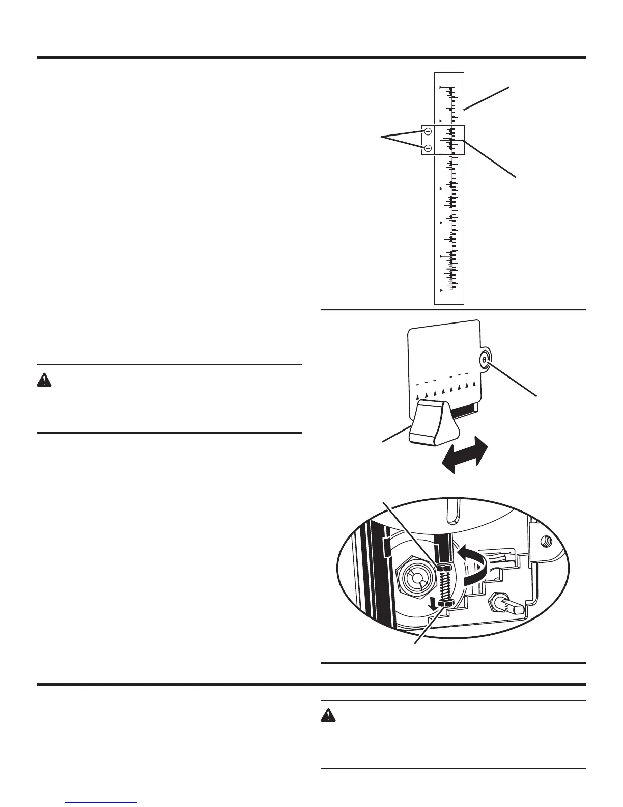
THICKNESS SCALE ADJUSTMENT
See Figure 13.
Located on the right front of the planer, the thickness scale
shows the depth of the finished workpiece. Inaccurate cuts
can be prevented by routinely checking the alignment of the
thickness scale.
Table extensions must be level with planer table.
Plane a scrap piece of wood and measure the depth of
the finished piece.
If properly adjusted, the depth of the finished piece should
be the same as indicated on the thickness scale.
If out of adjustment, loosen the scale indicator screws
holding the scale indicator and adjust the thickness
indicator to the correct setting.
Retighten screws securely.
REPEAT-A-CUT™
See Figure 14.
Plane a scrap piece of wood and measure the depth of the
finished piece. If an adjustment is needed:
Unplug your planer.
WARNING:
Failure to turn the tool off, remove the switch key,
and unplug the tool could result in accidental start-
ing causing possible serious personal injury.
Pull the replane indicator straight out to remove.
Remove the set screw on the right-hand side of the
planer Repeat-A-Cut™ cover (see figure 14).
Carefully lift and pull the Repeat-A-Cut™ cover off.
Lower the cutter head assembly until it stops against the
stop screw.
Using an accurate ruler or a scrap piece of wood, check
the measurement against the replane indicator setting.
If adjustment is necessary, use a wrench to loosen the
lock nut and adjust the stop screw to the correct height.
Once the adjustment is made, retighten the lock nut and
stop screw securely.
Replace the Repeat-A-Cut™ cover and secure using the
set screw.
Replace the replane indicator.
THICKNESS
SCALE
SCALE
INDICATOR
SCALE
INDICATOR
SCREWS
LOCK NUT
STOP SCREW
Fig. 13
Fig. 14
15
ASSEMBLY
APPLICATIONS
You may use the planer for the purposes listed below:
Planing the surface of a piece of lumber.
WARNING:
The use of this planer on materials not listed may
damage the planer and may cause serious per-
sonal injury.
1
Repeat
Cut
A
-
-
1
1
1
1
1
3
3
2
2
"
"
4
4
4
4
8
1
1
1
SET SCREW
REPLANE
INDICATOR

Related product manuals