EasyManua.ls Logo

Riello G10 - Page 17

Riello G10
24 pages
Print Icon
To Next Page IconTo Next Page
To Next Page IconTo Next Page
To Previous Page IconTo Previous Page
To Previous Page IconTo Previous Page
Loading...
5
20013656
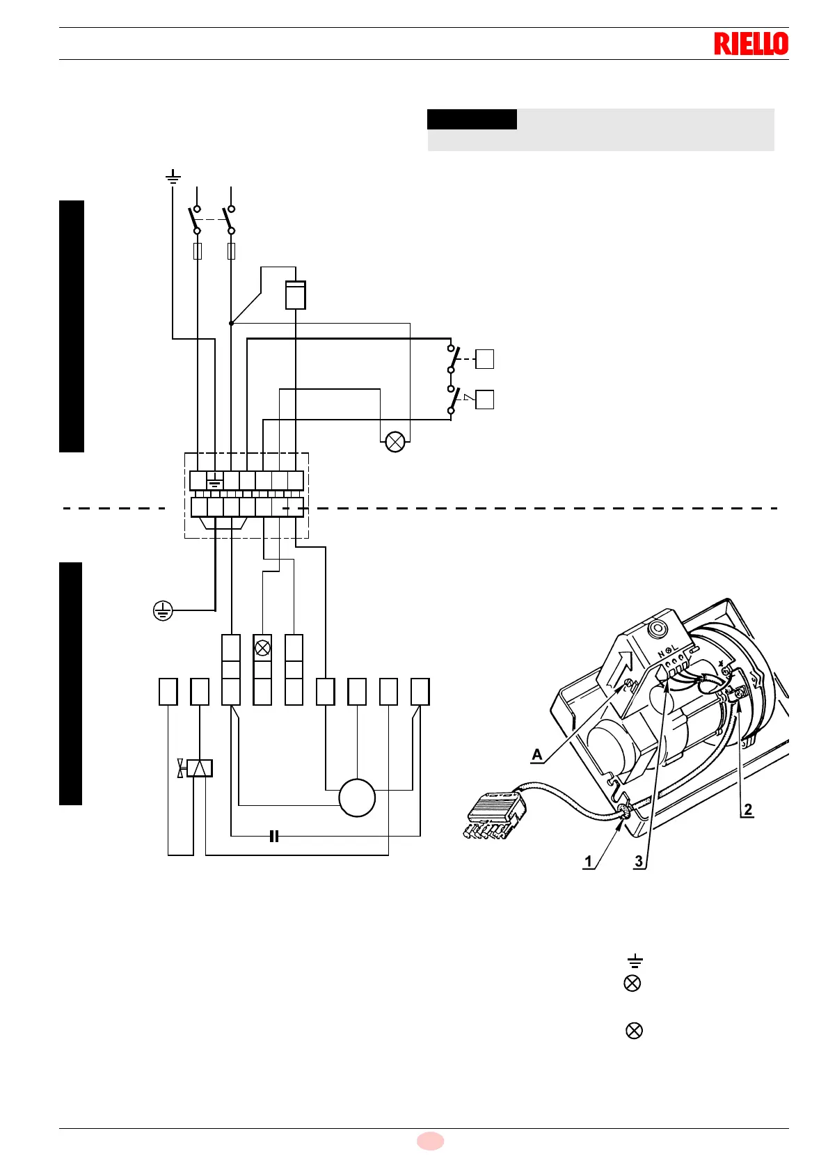
CN
电气连接
褐色
白色
(50V)
兰色
马达
电容
启动温控器
零线
主开关
T6A
M
~
灰色
230V ~ 50Hz
LN
安全温控器
远程锁定信号
(230V - 0.5A max.),
如需要
1NT1T2S3B4
12
褐色
阀门
T
T
D5334
黑色
控制盒 530SE
*
7 针插头
7 孔插座
3456789
NL
黄绿色
Blue
兰色
褐色
黑色
计时器
h
黑色
不要将火线与零线接反
注意
最小电线截面积:1 mm
2
.
电线连接必须符合所在国家的强制规定 .
测试
检查当温控器断开后,燃烧器是否停止运行 .
S7183
控制盒
松开螺钉 (A, 参见右图 ) 后,沿箭头方向拔出控制盒 .
光电管通过接线插头直接安装在控制器上 (
在点火变
压器底部
).
电气连接电线
1 - 电缆护套 N - 零线
2 - 线卡 L - 火线
3 - 接线端子 - 燃烧器接地
- 锁定指示灯
注意
如燃烧器不接地 , 端子 就失去作用 . 这也
有可能损坏控制盒 .
安装者负
厂家设置
的接线端子

Related product manuals