EasyManua.ls Logo

Roadmaster 195125 - Spare Tire Installation

Roadmaster 195125
4 pages
Print Icon
To Next Page IconTo Next Page
To Next Page IconTo Next Page
To Previous Page IconTo Previous Page
To Previous Page IconTo Previous Page
Loading...
continued from preceding page
Loctite
®
Red on the 3½” hitch receiver mounting bolt.
3. Position the shaft on top of the main receiver hitch (Figure
1).
4. Attach the 4” pivot bolt — use the ¾” flat washer and both
of the ¾” inner diameter plastic washers (one on either side of
the shaft) and secure the bolt with the lock nut, using a 1-1/8
socket wrench.
Torque the pivot bolt to 50 ft./lbs.
Note: there are two sizes of plastic washers in this kit.
Although they look the same, one set has an inner diameter of
¾" and the other has an inner diameter of 9/16".
Hold the tire mounting plate and shaft in place until se-
cured. The plate and shaft are heavy and can cause prop-
erty damage or severe personal injury if they are allowed
to fall.
5. Attach the safety bolt and hand-tighten the bolt.
Note: if you will be installing a spare tire at this time, do
not attach the safety bolt.
DO NOT DRIVE THE MOTORHOME WITHOUT THE
SAFETY BOLT IN PLACE. The safety bolt will hold the tire
mounting plate and shaft upright if the locking mechanism
should fail. Property damage, personal injury or other con-
sequential, non-warranty damage can occur if the locking
mechanism fails and the safety bolt is not attached.
Spare tire installation
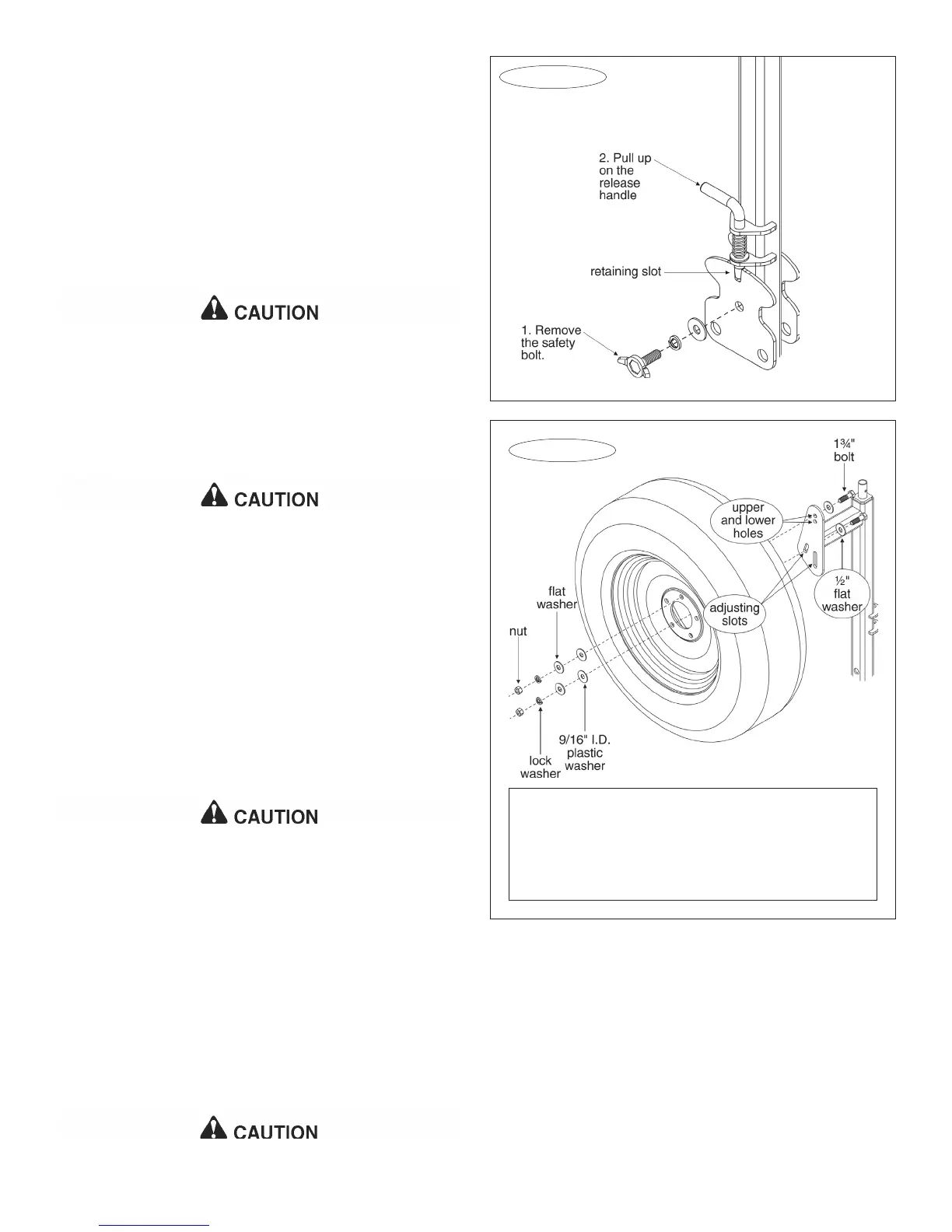
1. Remove the safety bolt (if it's attached).
Insert the lever bar and pin the bottom hole of the bar (Fig-
ure 1) to the tire mounting plate with the safety pin and clasp.
Lift the release handle (Figure 2) until it clears the retaining
slot (Figure 2). Holding the lever, swing the spare tire carrier to
the ground.
Be careful when lowering the spare tire carrier. Property
damage or severe personal injury can result if it is allowed
to fall.
2. Roll the spare tire up to the spare tire carrier.
Position the wheel so that a lug hole is at the top, aligned
to the upper and lower holes (Figure 3).
3. If the wheel has a smaller bolt circle (see the ‘Fit Chart’ in
Figure 3), insert a 1¾" bolt and ½" flat washer through the lower
hole in the tire mounting plate and through the spare; use the
upper hole for wheels with a larger bolt circle.
4. Make certain that the bottom hole of the lever is secured
to the tire mounting plate with the safety pin and clasp. Swing
the carrier up and allow it to lock. If necessary, pull up on the
release handle until it drops into the retaining slot.
Do not let go of the spare tire carrier until the release
handle drops into position. The carrier and spare tire are
Figure 2
heavy and can cause property damage or severe personal
injury if they are allowed to fall.
The lug hole directly opposite the bolt will line up in one of
the two adjusting slots (Figure 3). Attach the second bolt and
washer through the wheel and the adjusting slot.
5. As shown in Figure 3, fasten the two sets of plastic wash-
ers, flat washers, lock washers and hex nuts on the other side
of the wheel to the 1¾" bolts and ½" flat washers. Use a ¾"
socket wrench to tighten the two bolts.
continued on next page
Figure 3
Fit chart
The spare tire carrier will accommodate wheels with the
following bolt circles:
Minimum Maximum
bolt circle bolt circle
Even number of lugs (4, 6 or 8).................4½" .................. 7"
Odd number of lubs (5 or 7) ....................... 4".............. 6-1/8"

Related product manuals