EasyManua.ls Logo

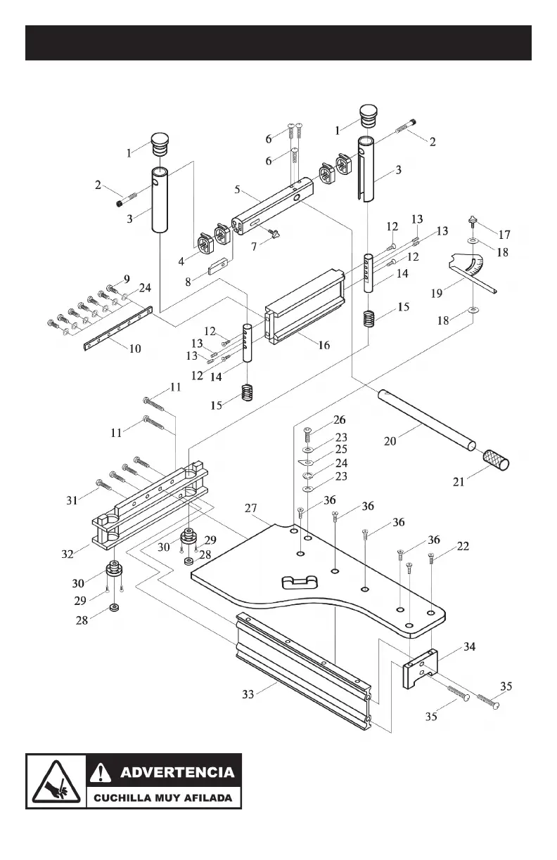
Roberts 10-63 - Diagrama de las Partes

Roberts 10-63
24 pages
Print Icon
To Next Page IconTo Next Page
To Next Page IconTo Next Page
To Previous Page IconTo Previous Page
To Previous Page IconTo Previous Page
Loading...
- 20 -
DIAGRAMA DE LAS PARTES