EasyManua.ls Logo

Roberts 10-63 - Parts Identification; Exploded Parts Diagram

Roberts 10-63
24 pages
Print Icon
To Next Page IconTo Next Page
To Next Page IconTo Next Page
To Previous Page IconTo Previous Page
To Previous Page IconTo Previous Page
Loading...
- 6 -
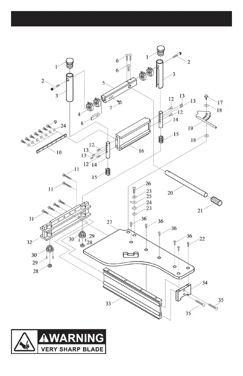
EXPLODED PARTS DIAGRAM

Related product manuals