EasyManua.ls Logo

Roberts ecologic 2 - IC Circuit Block Diagram

Roberts ecologic 2
29 pages
Print Icon
To Next Page IconTo Next Page
To Next Page IconTo Next Page
To Previous Page IconTo Previous Page
To Previous Page IconTo Previous Page
Loading...
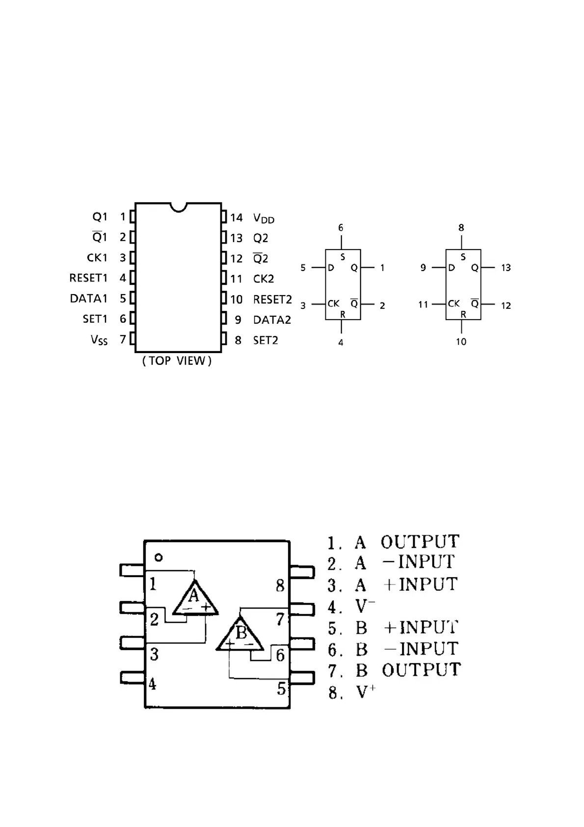
IC CIRCUIT BLOCK DIAGRAM
1. IC1 TC4013BFN
2. IC2 NJM2100M
20

Other manuals for Roberts ecologic 2

Related product manuals