EasyManua.ls Logo

Roberts iDREAM 2 - Presetting Stations

Roberts iDREAM 2
40 pages
Print Icon
To Next Page IconTo Next Page
To Next Page IconTo Next Page
To Previous Page IconTo Previous Page
To Previous Page IconTo Previous Page
Loading...
15
Presetting stations
You may store your preferred DAB and FM radio stations to the preset
station memories. There are 20 memory presets in your radio, 10 for
DAB and 10 for FM. Presets are remembered by your radio in the event
of a power failure.
The procedure for setting presets and using them to tune stations is the
same for FM and DAB modes, and is described below.
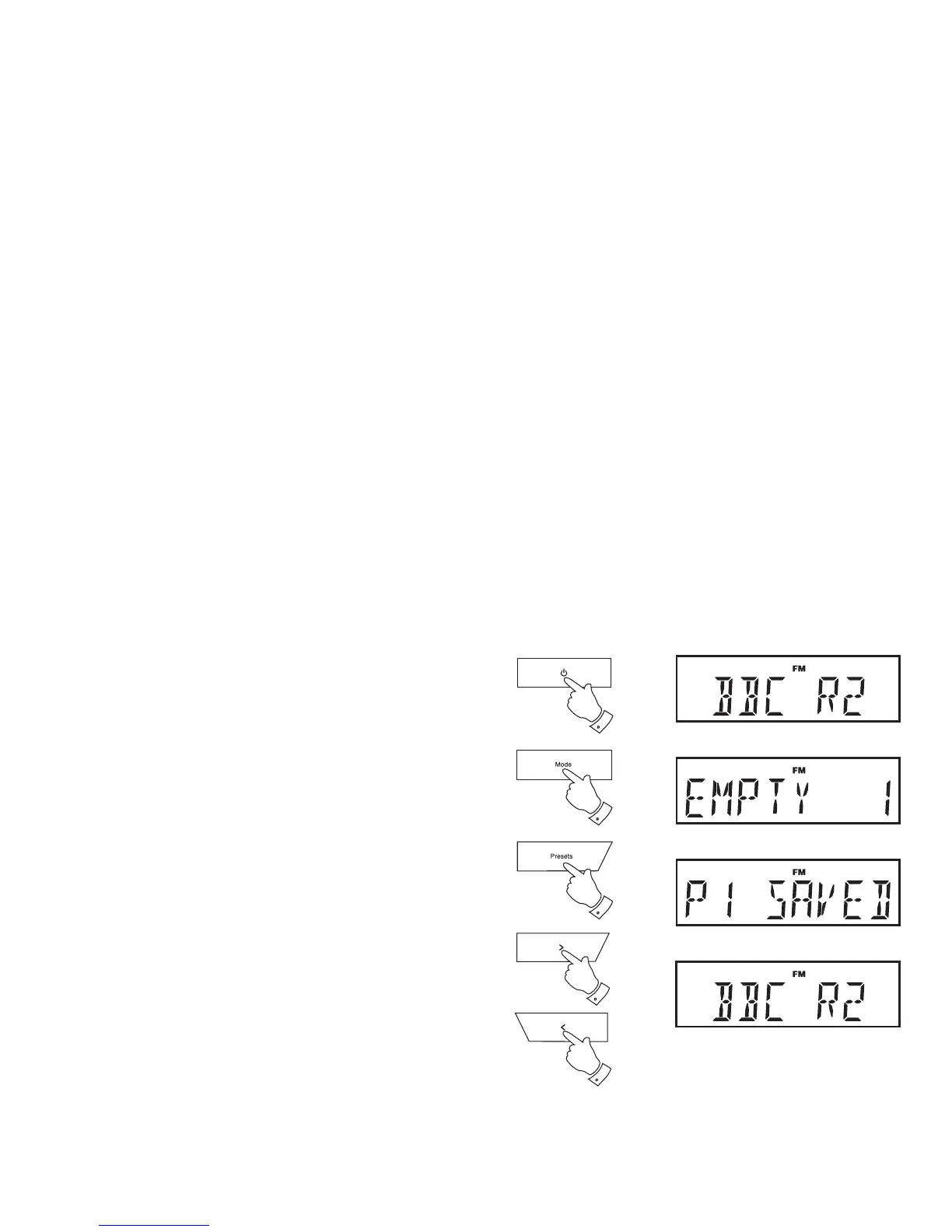
1. Press the On / Standby button to switch on the clock radio.
2. Press and release the Mode button to select the desired waveband.
3. Tune to the required station as previously described.
4. Press and release the Preset button. The display will show, for example,
'Empty 1' if no station has been stored to that preset.
5. Use the Tuning Up or Down buttons to select the desired preset
station number under which you wish to store the station.
6. Press and hold down the Preset button until the display shows, for
example, 'P1 SAVED'. The station will be stored under the chosen
preset. Repeat this procedure for the remaining presets.
7. Stations which have been stored in preset memories may be overwritten
by following the above procedure.
2
5
5
1
4,6

Related product manuals