EasyManua.ls Logo

RUTHMANN ECOLINE RS200 - Safety During Maintenance

RUTHMANN ECOLINE RS200
74 pages
Print Icon
To Next Page IconTo Next Page
To Next Page IconTo Next Page
To Previous Page IconTo Previous Page
To Previous Page IconTo Previous Page
Loading...
USE AND MAINTENANCE MANUAL R68090150
ORIGINALE
RUTHMANN ITALIA S.r.l. Via Santa Maria del Piano di sotto,91/B 47854 Montescudo-Monte Colombo (RN) - ITALIA
pag. 58
9. MAINTENANCE
9.1. GENERAL ADVICE
INTRODUCTION
By periodical maintenance we mean the work that needs to be carried out regularly during the
machine’s entire life.
We are certain that accurate maintenance and control will allow the machine to operate with continuity
and maximum efficiency we will summarise a series of operations, bearing in mind that rapid
intervention on any worn part will prevent greater damage and reduce the MEWP’s downtime.
Other work that is not dealt with in this section is to be regarded as special maintenance work and,
therefore, does not form part of the tasks assigned to the operators of the MEWP; this type of
maintenance work must be carried out in a specialised workshop.
All maintenance work must be carried out when the machine is not in operation, i.e. with the engine off,
the power off and the machine in resting mode.
Used liquids and lubricants must be disposed of according to current laws as they are harmful to the
environment.
A few pages have been added to this manual for the maintenance operator to write down the work that
has been carried out and the machine’s working hours these can be calculated using the hour-meter
on the ground control panel.
SAFETY DURING MAINTENANCE
Before any maintenance operation, activate all safety devices and inform the staff. Signal the
surrounding area properly and prevent the access to non-authorized people.
Use equipment or tools that are suitable for the type of work to be carried out
Only personnel that is qualified and authorised to carry out maintenance work should be present in the
maintenance areas/rooms.
Replace worn parts by means of genuine spare parts. To have a good working and safety, use the oils
and greases suggested by the manufacturer.
It is forbidden to carry out modifications or replacements with unsuitable components and without
RUTHMANN ITALIA Srl’s approval.
When the machine is washed, take care to protect the electrical control panels and the combustion
engine’s starter battery with suitable covers to prevent water from getting inside.
!
WARNING
WARNING
Do not disperse pollutant liquids, used parts and maintenance remnants. Dispose of them
respecting the rules in force.
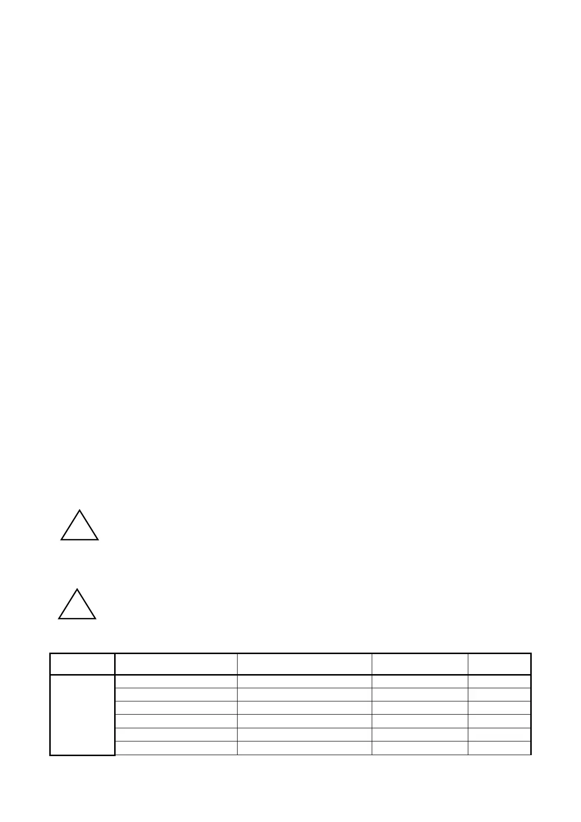
9.2. TABLE SHOWING THE MAINTENANCE INTERVALS
!
WARNING
IMPORTANT
Keeping the machine in perfect condition by means of the periodic maintenances
suggested by the manufacturer, enables you to obtain good performances, a long life and
a good working of the safety devices.
Frequency
Component
Type of work
Action
Paragraph
Every day
(every 10
hours)
Structures and main groups
Check integrity
Hydraulic unions
Check oil leaking
Tighten the unions
Fixing elements
Check tightening
Tighten the elements
9.9
Flexible pipes
Check oil leaking
Replace
Pilot lights
Check working
Start-Stop engine device
Check working
Rotate selector

Related product manuals