EasyManua.ls Logo

Ryobi BTS15 - Setting Blade Angles; Setting Blade to 0° or 45°

Ryobi BTS15
38 pages
Print Icon
To Next Page IconTo Next Page
To Next Page IconTo Next Page
To Previous Page IconTo Previous Page
To Previous Page IconTo Previous Page
Loading...
Page 31
ADJUSTMENTS
WARNING:
Before performing any adjustment, make sure the tool is
unplugged from the power supply and the switch is in the
off ( ) position. Failure to head this warning could result
in serious personal injury.
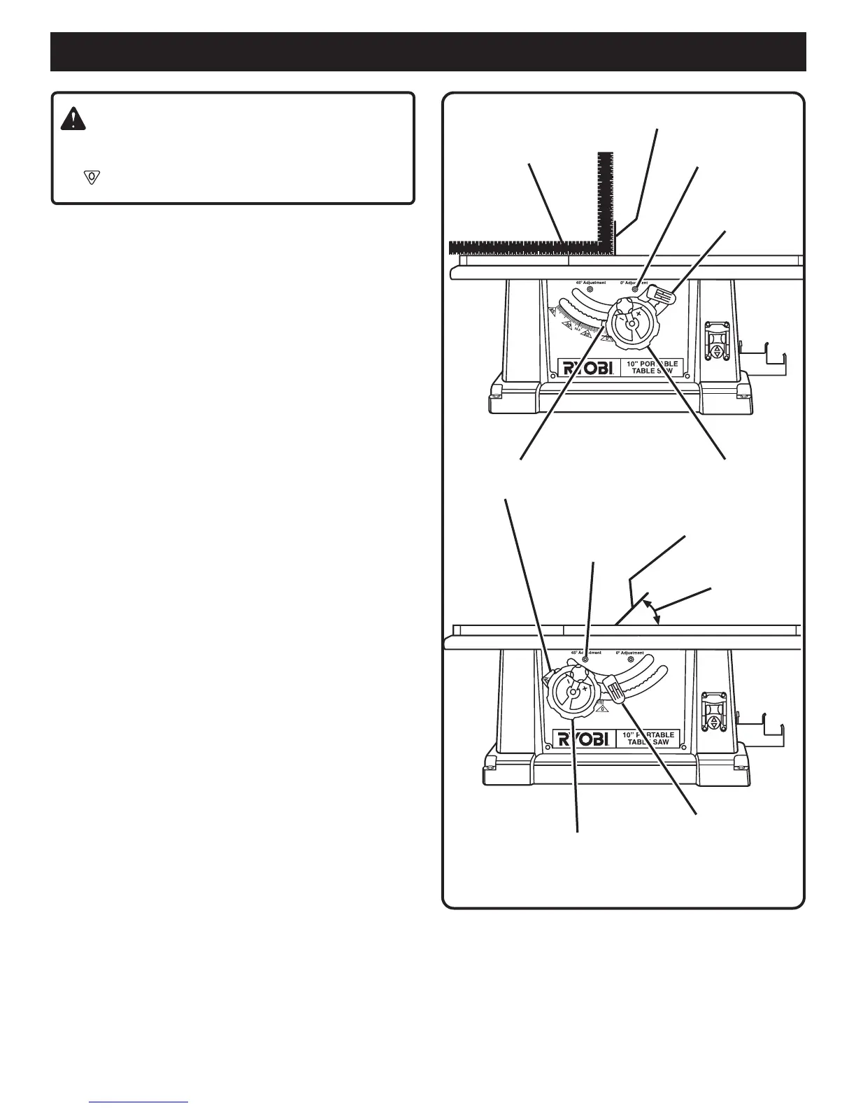
TO SET BLADE AT 0° OR 45°
See Figure 40.
The angle settings of your saw have been set at the factory
and, unless damaged in shipping, should not require setting
during assembly. After extensive use, it may need to be
checked.
Raise the blade and the blade guard.
If the blade is not perfectly vertical (0°), loosen the
adjustment bolt and the bevel locking lever.
Place a framing square beside the blade on the left. Lock
the angle by pushing the bevel locking lever and retighten
the adjustment bolt.
Adjust the bevel indicator to zero.
If the blade is not an exact 45°, loosen the adjustment bolt
and the bevel locking lever.
Turn the bevel handle until the bottom of the blade has
moved completely to the left side of the slot. Lock the
angle by pushing the bevel locking lever.
If the blade is not an exact 45°, loosen the adjustment bolt
and the bevel locking lever.
Adjust the bevel indicator to 45°.
Make a test cut.
Fig. 40
BEVEL
LOCKING
LEVER
BEVEL
HANDLE
BEVEL
INDICATOR
0º ADJUSTMENT
BOLT
FRAMING SQUARE
45º
BEVEL
LOCKING
LEVER
45º ADJUSTMENT
BOLT
BEVEL
HANDLE
BLADE
BLADE

Related product manuals