EasyManua.ls Logo

Safer PR90 - Page 21

Safer PR90
112 pages
Print Icon
To Next Page IconTo Next Page
To Next Page IconTo Next Page
To Previous Page IconTo Previous Page
To Previous Page IconTo Previous Page
Loading...
Globalis International
PR9 SERVICE MANUAL
-
VER1.1
Page
21
of
112
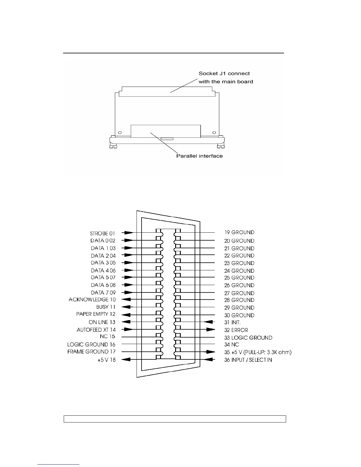
Fig. 2-4 Parallel Interface Card
Fig. 2-5 Parallel Interface Pin-out