EasyManua.ls Logo

Saft 1606-1 - Page 42

Saft 1606-1
62 pages
Print Icon
To Next Page IconTo Next Page
To Next Page IconTo Next Page
To Previous Page IconTo Previous Page
To Previous Page IconTo Previous Page
Loading...
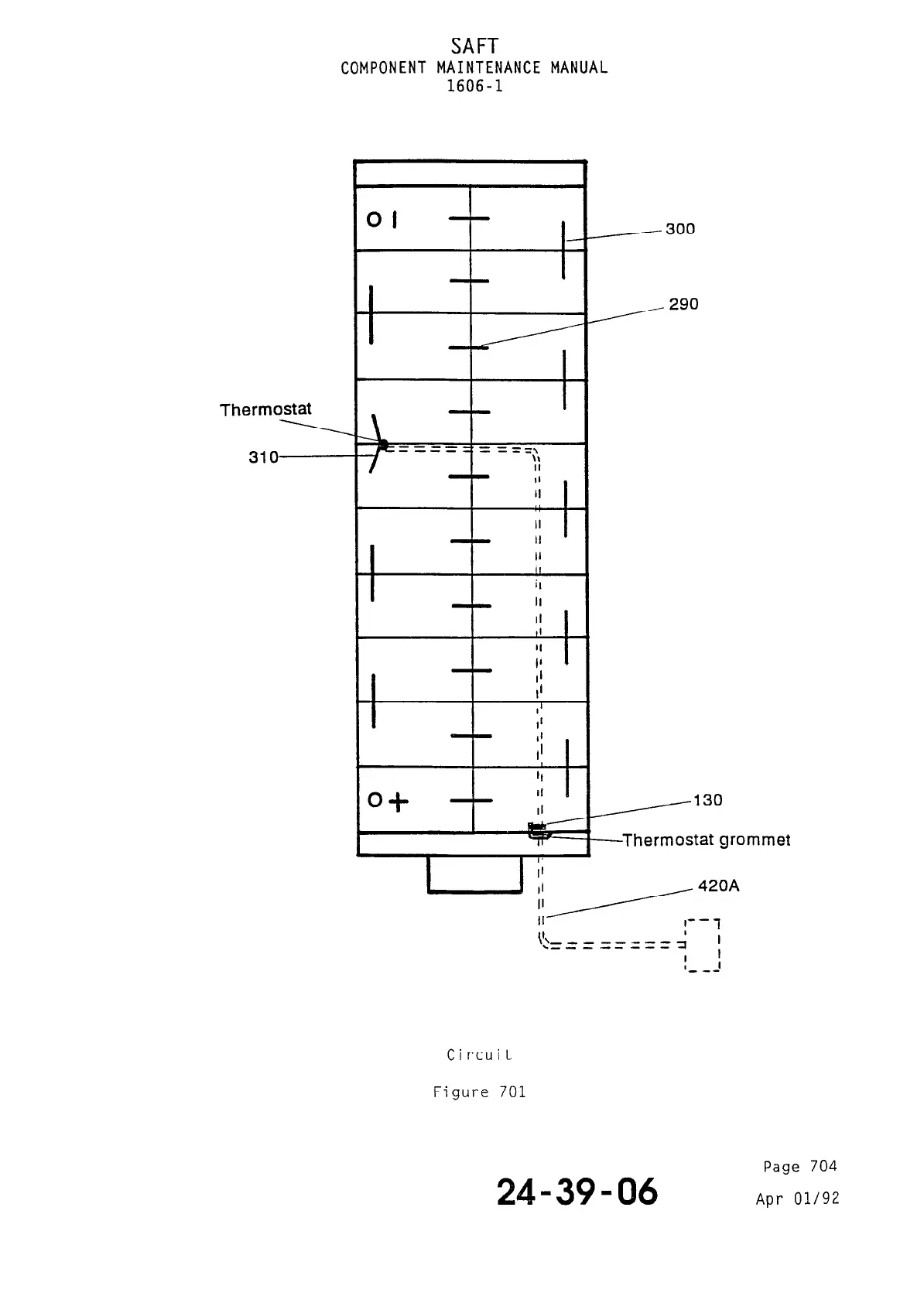
Thermostat
310
SAFT
COMPONENT
MAINTENANCE MANUAL
1606-l
I
----_. ----_.
-----==z=-\ -----==z=-\
\\ \\
II II
II II
II II
II II
II II
II II
I, I,
iI iI
II II
/130
-Thermostat grommet
Circuit
Figure 701
24-39-06
Page 704
Apr 01192
The document reference is online, please check the correspondence between the online documentation and the printed version.

Related product manuals